站在风口上,猪都能飞起来!《科技东风周报》是SMZDM的科技数码资讯专栏 《科技东风》周末篇~,旨在介绍科技圈的最新动态,在周末的闲暇之余一份数码消费周报为您呈现,欢迎持续关注,欢迎给我们提出建议与意见~
今天是3月29日,值友们大家好,欢迎乘坐 《科技东风》 号。本周科技圈儿又发生了哪些有趣的大事小情呢?赶紧来瞧瞧, 请坐好,我们出发了~

华为P70或定档4月2日
近日,有网友晒出一张意疑似华为P70系列春季全场景发布会宣传海报。从海报显示,发布会将会在4月2日14:30举行。按照此前各方预测,华为P70系列有望4月发布,并且可能会加入“先锋计划”,随时出现的即视感。

据多方爆料显示,华为P70系列新机提供P70标准版、P70 Pro、P70大师、P70艺术(P70 Art)四个版本,采用麒麟9000系处理器,支持5G以及卫星通信,最主要的还是影像升级,华为P70、华为P70 Pro主摄搭载豪威OV50H,华为P70 Art升级为索尼IMX989,还会在拍照上引入AI技术(盘古大模型),价格方面预计会与华为P60系列保持一致。

据此前华为内部消息,P70系列的重要性定位超过Mate系列,肩负着重回影像TOP的重任。在华为XMAGE影像、物理可变光圈的加持下,相信P70系列还是很能打的。另外目前新机已开始批量供货,预测P70销量将大幅增长,可能会达到1300万-1500万台。


小米汽车 F 码炒至 5 万
小米汽车于昨晚正式上市,三款配置分别为 21.59 万元、24.59 万元和 29.99 万元。小米也在第一时间统一通过短信发放 F 码,上市仅 27 分钟,小米 SU7 的大定数量已突破 50000 台。

如今,小米 SU7 F码(优先购买权)已在二手平台售价 5000 元,更有甚着涨至 5 万元。一位小米内部人士吐槽,“当时发的时候没人要,昨晚要的都来不及了。”也有表示“当时卖了 2000 元,感觉卖亏了。”

就担心转让风险问题,小米投资企业员工告知新浪科技,小米汽车 F 码的有效期为 24 小时,在有效期内,持有 F 码的用户均可以优先定购 1 台 SU7 创始版,不受售罄情况的影响。
另,最近有不少消费者称遭遇小米汽车“误锁单”,维权平台已出现不少退换定金的诉求

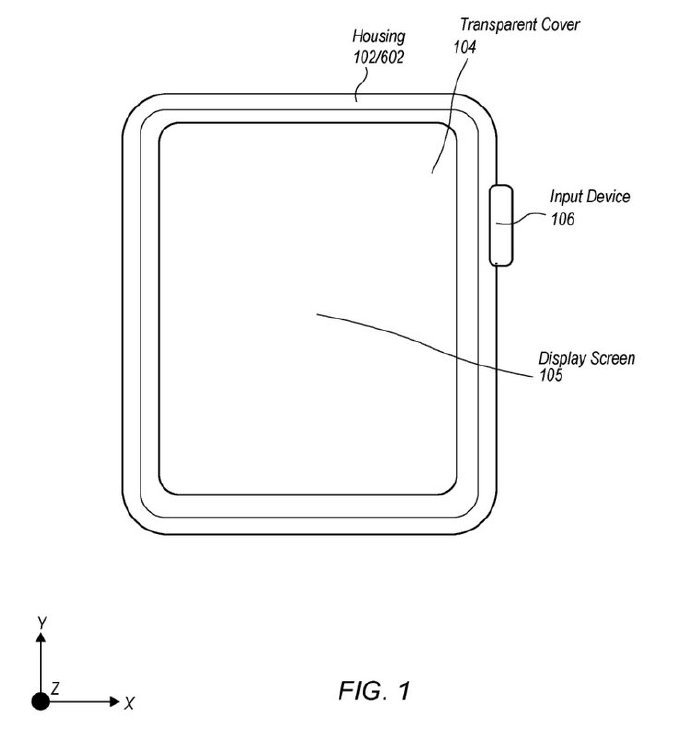
苹果屏下镜头有了“出头之日”
苹果最近在美国商标和专利局获得了Apple Watch屏下镜头的专利,就如传闻一样,先拿手表练手,该专利提供Face ID面部识别、拍照以及脸部追踪等功能。

从专利来看,解决方案依旧是高透光区,增加相机模块的透光率。高透光区与相机模块参数共同设计,以实现更小的高透光区和更好的相机模块性能。此前消息,苹果关于屏下摄像头专利搞了5个。另有小道消息小米又重启了屏下摄像头项目立项。

手机进入全民屏时代,为了让屏占比更大,前置一小再小。目前正在使用的屏下摄像技术还有待加强,虽然不是很成熟,但仍被寄予厚望,只有中兴还在坚持,我们也期待着后续技术发展,值得敬佩。

铭凡V3“三合一”平板
铭凡今天下午在九江发布了铭凡V3平板,官方号称这是“全球首款AMD AI 高性能 Windows 三合一平板电脑”,32GB+1TB售价6999元,限量赠键盘钢化膜。

这款平板搭载锐龙7 8840U处理器,Zen4架构,8核16线程,主频3.3GHz,至高5.1GHz,功耗28W,支持Ryzen AI。内置32GB LPDDR5-6400内存+最大2TB M.2 2280 SSD。

此外,正面搭载14寸2.5K 165Hz屏幕,100% P3色域覆盖,最高500尼特亮度。还支持4096级压感MPP2.6手写笔、支持DP-in视频输入可作为显示器使用。

小米14 Ultra 5.5G网速实测
今天,中国移动再宣布,小米14 Ultra 5.5G刷新了最快网速纪录,实测速率下行达到了5132.34Mbps,上行163.07Mbps,时延低至19ms,比5G还要快10倍。

小米公司也表示,祝贺中国移动集团全球首发 5G-A 商用部署,小米 14 Ultra 会联合中国移动导入更多 5G-A 新特性,期望在时延、速率上再创新高。

据悉,5.5G(5G-A)是5G向6G发展的关键阶段,相较于5G,5G-A具备更高速率、更大连接、更低时延等特点。

其他简讯
上海拟制定规范互联网“种草”,“笔记”形式变相打广告:3月29日下午,上海市政府新闻办举行市政府新闻发布会,介绍《上海市减轻企业负担支持中小企业发展若干政策措施》有关情况。上海市市场监督管理局副局长彭文皓介绍,今年,市市场监管局会继续聚焦相关重点领域,制定出台覆盖面更广的合规指引。
比如,研究制定食品生产企业食品过敏原风险管控指南,指导食品生产企业做好过敏原防控;针对电商平台以笔记分享形式变相发布商业广告行为,制定规范互联网“种草”行为指引等。
马斯克突然发布Grok 1.5:就在刚刚,马斯克旗下的 xAI 团队突然发布了 Grok-1.5 大模型,官方啥也没表示,直接甩了一个链接。从基准测试结果来看,Grok-1.5的能力迎来了巨大的飞跃,全然碾压了此前热门的开源模型Mistral Large、Claude 2等,即使面对“宿敌”GPT-4,也互有胜负。

荣耀官网“Hi,honor”倒计时,预热字越少时越大:目前荣耀官网主页横幅显示“Hi,honor”倒计时,将在周日(3 月 31 日)0 点结束,预计会有新消息公布。应该不能是愚人节预热活动吧?荣耀汽车?荣耀全新AI?

京东企业文化升级: 据“京东黑板报”,今日,京东集团创始人、董事会主席刘强东发布全员信,宣布京东企业文化升级。他表示商业的价值不仅靠利润、收入来衡量,在此之上应该有更高的追求,无论是体验的优化、效率的提升,还是成本的降低,始终需要为客户、为合作伙伴、为社会回馈价值,也正是这份使命感,引领着京东走到了现在。

今天起,京东的使命升级为“技术为本,让生活更美好”,核心价值观升级为 “客户为先、创新、拼搏、担当、感恩、诚信”。
全球通信设备市场华为获第一:据国外媒体报道称,在全球通信设备市场,华为继续稳居榜首,且领先优势 还在不断扩大。尽管面临欧洲市场退出的压力,华为依然展现出了强大的市场竞争力,去年再次蝉联全球通信设备市场的冠军宝座。

韩国媒体也不禁感叹,在与华为的竞争中,三星电子逐渐显现颓势。据市场研究公司Omdia发布的最新统计数据,去年华为在全球通信设备市场(包括小型和大型基站等)的份额达到了31.3%,高居榜首。相比之下,三星在全球通信设备市场的份额仅为6.1%,排名第五。

值友好文

每天学点有用的
存储设备怎么选?
视频源:B站@笔吧评测室

历史上的今天
第一部获得奥斯卡奖的计算机动画片

《小锡兵》(Tin Toy)是皮克斯动画工作室于 1988 年所制作的短片。这是 PIXAR 第一次尝试做出人体动作跟模型。这部短片在 1989 年的今天赢得了奥斯卡最佳动画短片奖、第三届洛杉矶国际动画节一等奖以及美国电影协会蓝带奖,是第一部获得奥斯卡的电脑动画短片,也是后来家喻户晓的玩具总动员(Toy Story)的创意来源。

1985 年,在董事会的斗争失势后,乔布斯离开苹果公司及成立了 NeXT 公司。1986 年,史蒂夫·乔布斯收购了卢卡斯影业的计算机动画部。2006 年,皮克斯被迪士尼以 74 亿美元收购,成为华特迪士尼公司的一部分,乔布斯亦因此成为迪士尼在 2006 年至 2011 年的最大个人股东,直到 2011 年乔布斯逝世后股权才完全归入迪士尼。

《小锡兵》(Tin Toy)是公司小型动画部门制作的第三部短片,这是一项冒险的投资:因为当时皮克斯的主要产品——皮克斯图像计算机的收入很低,公司处于财务拮据的状态。导演约翰·拉塞特通过故事板向皮克斯老板史蒂夫·乔布斯提出了小锡兵的概念,尽管公司陷入困境,乔布斯还是同意为这部电影提供资金,并通过每年的投资来维持这部电影的活力。小锡兵所引领的铁皮玩具潮流后来引起了迪士尼的注意,迪士尼签订了由汤姆·汉克斯和蒂姆·艾伦主演的《玩具总动员》的协议,将皮克斯逐渐引领到今天的地位。


往期回顾
旅途总是短暂美好,今天就先到这儿了,明天见~
更多可关注值得买 《科技东风》栏目,聚焦每天热点~

文章来自互联网,只做分享使用。发布者:叮当号,转转请注明出处:https://www.dingdanghao.com/article/275719.html
