4 月 17 日消息,根据美国商标和专利局(USPTO)近日公示的清单,苹果公司获得了一项关于 iPhone 配件的全新专利,内部可以塞入各种银行卡,可以通过 MagSafe 为 iPhone 充电,并可佩戴在手腕或脖子上。
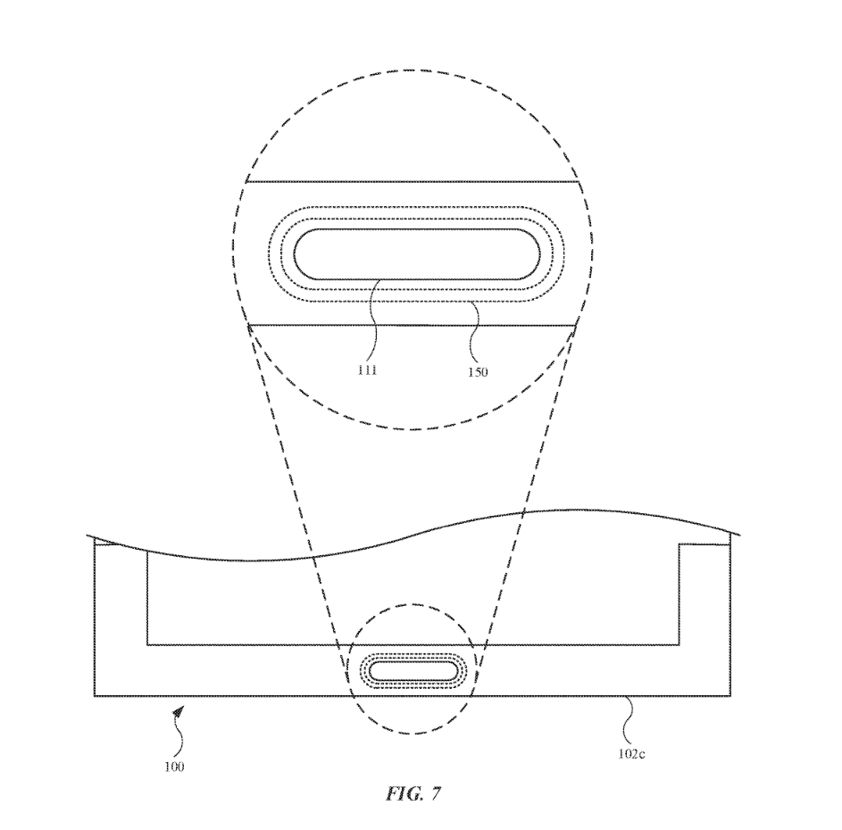
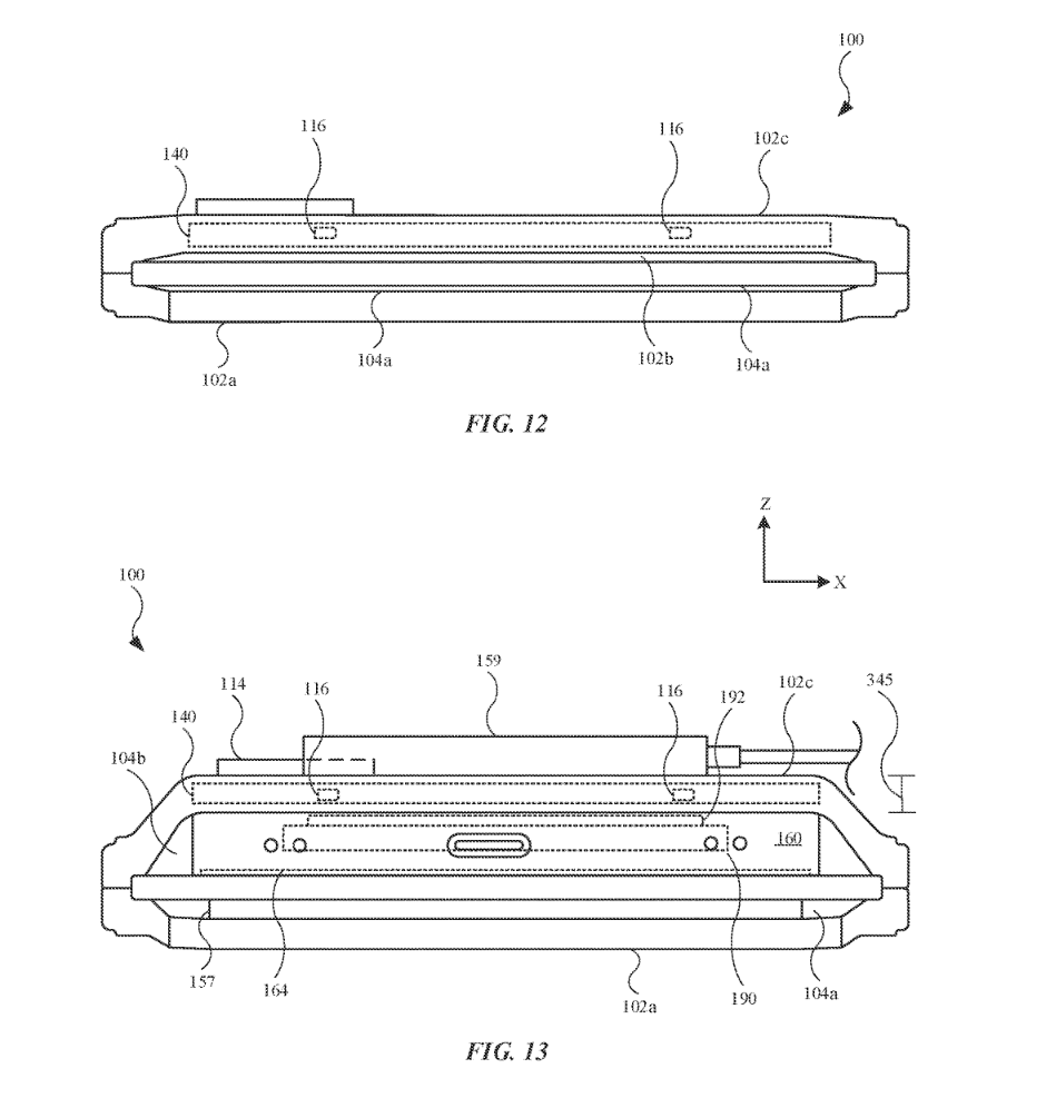
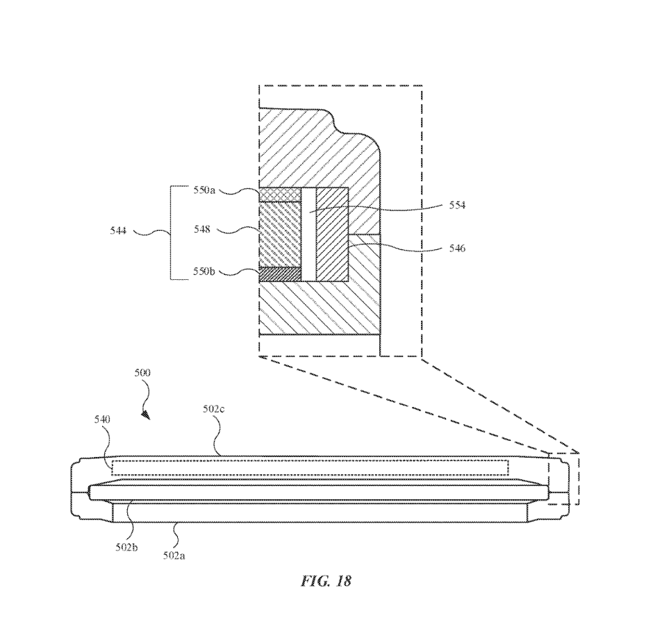
该配件可以充当 iPhone 支架使用,配有一条带子,可以将其固定在行李上。不过用户也可以搭配挂绳,套在手腕或者脖子上。苹果官方描述为“用于收纳便携式电子设备 [指 iPhone] 的口袋”,这款配件还可以通过 MagSafe 给 iPhone 充电。此外 iPhone 在放入该配件之后,该配件还可以预留相应的开口,显示时间、天气、通知等关键信息。
附上其它图片内容如下:






以上就是iPhone 新配件专利获批:苹果欲打造终极 MagSafe 钱包的详细内容,更多请关注叮当号网其它相关文章!
文章来自互联网,只做分享使用。发布者:老板不要肥肉,转转请注明出处:https://www.dingdanghao.com/article/365457.html
