仰望在本届北京国际车展上发布了云辇-Z电磁悬架系统,但似乎大家都没明白这套云辇-Z究竟有多吓人,传得最广的反而是那个用爱发电的烂梗。仰望汽车,或者说比亚迪口风非常严,没有对外透露任何的技术信息。但在国家专利平台上,我们依然抓到了比亚迪的狐狸尾巴,让我们认认真真聊一下比亚迪这套云辇-Z到底是什么来头。什么是电磁悬架?它能带来什么好处,以及,以后比亚迪会怎样发展它。

什么是电磁悬架?
开始聊云辇-Z之前一定要先和大家说说电磁悬架的定义问题,因为在我们那条仰望U7的视频里就有不少人说“吹什么啊,电磁悬架凯迪拉克、路虎不是早就用了吗?”通用集团有一套非常厉害的减震机技术,叫做MRC,全称是Magnetic Ride Control,在国内的翻译叫做电磁悬架,它名字里的“电磁”是来自减震机内使用的特殊液压油。通用MRC减震机的液压油使用的是磁流体,通过电场的改变可以瞬间改变它的流动性质,所以通用的MRC可以用非常快的速度改变减震机的阻尼特性,但它本质上还是一套传统的机械悬架,减震机的阻尼还是来自于液压油和阻尼阀。

但云辇-Z是完全不一样的一套东西,你可以把云辇-Z理解成安在轮子上的大磁铁,表面上看仰望U7是在地上跑的,但实际上它的车身是被这四个轮子上的磁铁的磁力给顶起来的,这是真正意义上的磁悬浮,理解成贴地飞行也没问题,这才是真正的电磁悬架,因为车辆的绝大部分重量是靠电磁场的互斥力承担的,这也是为什么你能在网上的仰望U7路跑视频里能看到地面的减速带几乎对它的车身姿态没影响,因为它其实是“飘”在这四个轮子上的。

起底云辇-Z,从物理结构开始
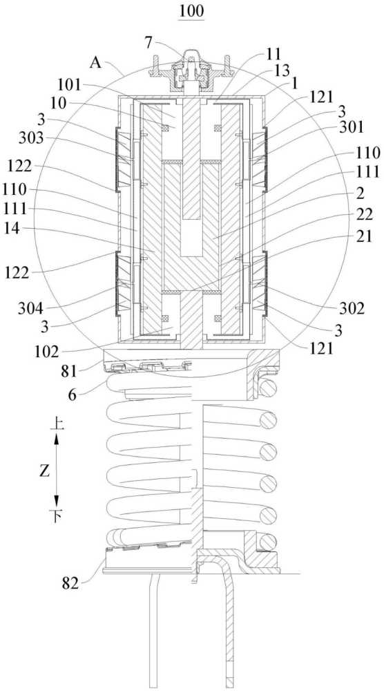
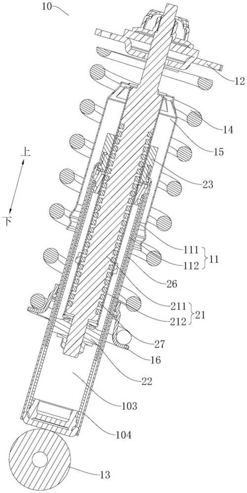
仰望U7搭载的这套云辇-Z这么厉害,它的结构是怎样的?用了什么样的技术?会不会不耐用?断电了之后会不会直接趴窝?会有什么样的玩法?仰望官方是一问一个不吱声,但好在比亚迪申请的专利材料里基本上都说明白了。首先是公告号CN117662661A的减震总成专利,非常清楚地展示了云辇-Z系统的外观结构,从外观上看就是两个非常大的六棱型大筒子,套在双叉臂前悬架的安装位上,而云辇-Z的秘密就藏在这两个六棱形大桶里。这俩桶,就是云辇-Z的核心。

“筒子”里有什么?
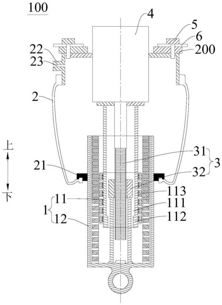
都说高端的技术只需要最简单的原理,但为了实现简单的原理又得配上特别复杂的结构,云辇-Z就是这样,表面看起来简介的六棱核心筒里的结构被比亚迪藏在了N份专利里,要是让友商来说可能得讲上好几个月。首先是公告号CN117879255A和CN117662655A(图示)这两个减震机结构专利,能看到它的内部其实是两个独立的组件,内部的空间用来容纳提供磁力的直线电机结构,同时也有上下的限位件。

根据公告号为CN117674493A的专利显示,比亚迪在云辇-Z里用来提供支撑的直线电机居然还是永磁电机,当然也提供了大量的电磁组件来实现磁通量的快速调节。这些东西可能不太好理解,但换个说法就清晰很多了,两块可以随时调整磁力大小的磁铁,互斥的“劲道”可以根据需求随时调节。能调到多离谱呢?公告号CN117656738A的专利明明白白地写着,能调整车高,能控制车辆起跳!仰望U7看来真的会飞。

云辇-Z会不耐用吗?
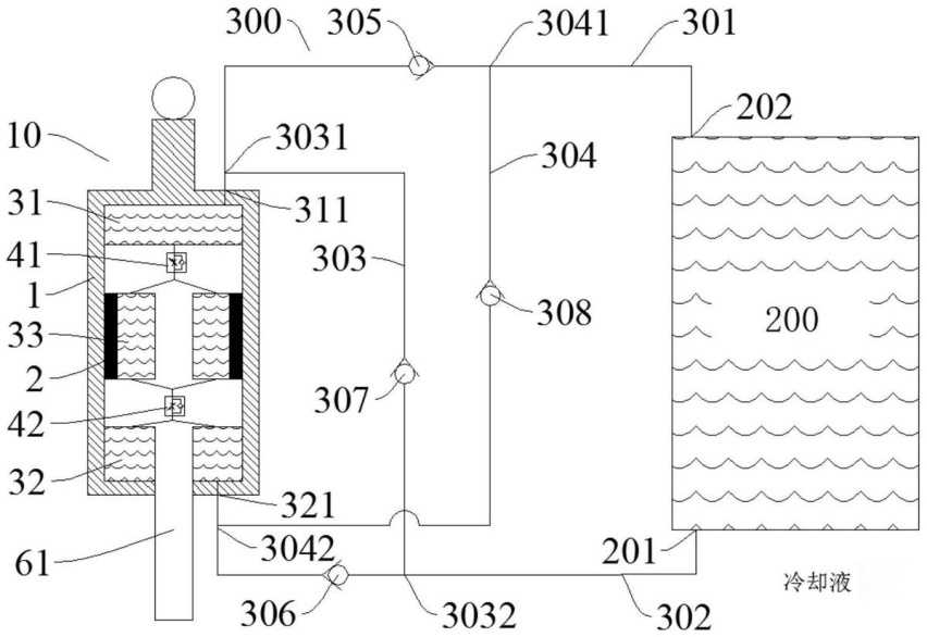
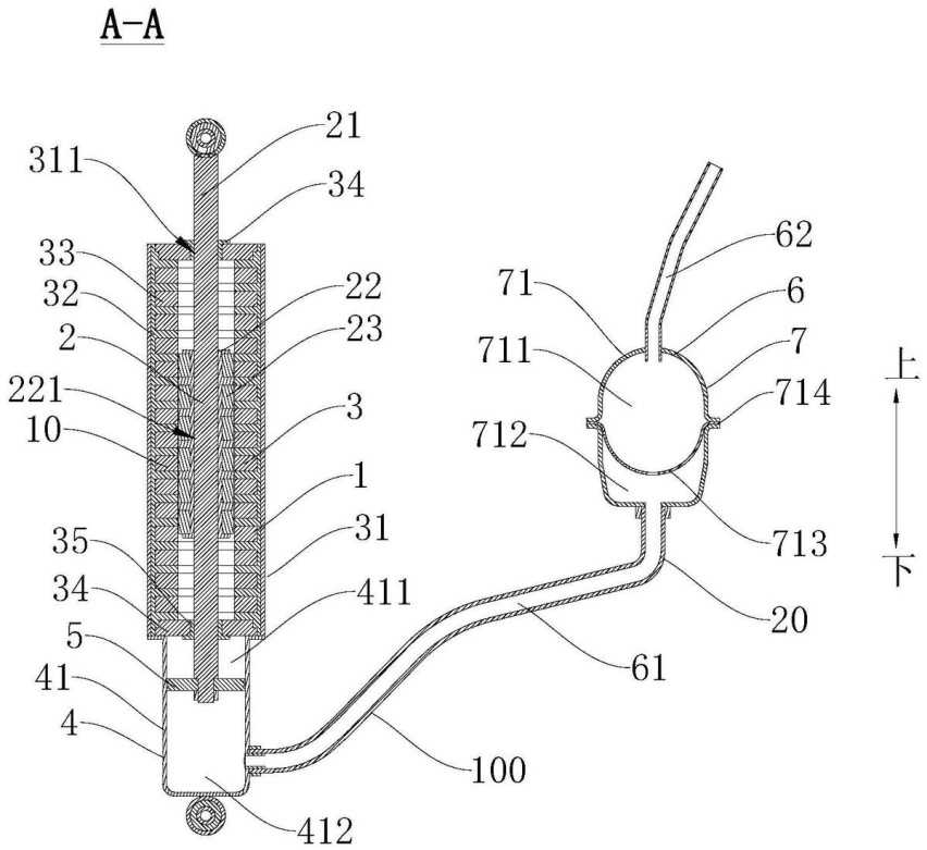
作为一套要时时刻刻承担重任的减震机,云辇-Z需要更稳妥的周边系统保证直线电机时刻工作在正常状态,就像公告号CN117803675A和CN117879262A这两套专利这样,在直线电机系统里预留了冷却系统的安装位,同时再接入CN117656742A(图示)显示的强制液冷系统,由强制流动的液压油带走系统产生的热量。

另外,像公告号CN117869525A(图示)的专利所显示的那样,比亚迪甚至还给云辇-Z系统设计了散热风道和相关的强制冷却系统。更离谱的则是公告号CN117791910A的专利,比亚迪说在系统里面留了填充蒸发液的空间,这……这不就是电子佬喜闻乐见的热管?液冷气冷热管三结合!太离谱了!要知道减震机一共就这么大点地方,比亚迪硬是能在云辇-Z系统里集成这么多东西,这是真的猛。

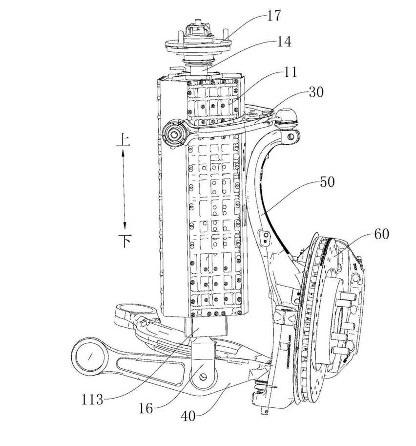
至于可靠性,首先比亚迪申请了公告号CN117869503A(图示)的专利,给云辇-Z安排了降温模式;而且大家别忘了前面提到的CN117674493A专利,直线电机组件里用了永磁体,它断电了也是能保持一定的互斥力的,另外就是根据比亚迪的多份专利图的交叉对比和车展仰望U7的实拍,这套云辇-Z系统大概率还是和之前的云辇-P一样,比亚迪并没有完全使用直线电机提供刚度和阻尼来承担车体的重量,云辇-Z系统依然有物理结构的弹簧,桶芯也存在液压减震机,能起到双备份的作用。所以也不用担心云辇-Z断电之后会趴窝,最多就是没那么爽了而已。

云辇-Z的玩法,可能比亚迪也没想好
根据众多的比亚迪电磁悬架系统专利显示,他们可能真的特别喜欢这套云辇-Z,给它打造出了N个不一样的版本,像是这套和空气弹簧结合的CN117656739A专利,空气弹簧加直线电机电磁悬挂,这该叫什么?云辇-AZ?要不就叫云辇-啊……这?

还有这个,把云辇-Z和云辇-P的液压系统一起组合起来的CN117656737A(图示)专利,云辇-PZ预定了哈!当然不光是这些一看就很贵很高大上的,比亚迪也申请了一大堆把云辇-Z的直线电机和更传统的机械弹簧一起结合的方案,像是CN117803675A还有CN117879200A这样,搞不好这就会是以后的云辇-CZ。

但要说最离谱的还得是公告号CN117662665A的这套专利。为什么说它离谱?因为和前面那些主打大电机的各种设定不一样,这个设计基本上就是给一个普通的减震器里加上了一个很小的直线电机模组,因为电机的功率问题,它能起到的作用和现在的可变阻尼减震机和可变刚度系统其实并不会有太大的差异,而很显然结构不复杂的它价格肯定也不会贵到哪里去,这就很吓人了,有没有可能比亚迪会拿这套极度青春版的云辇-Z取代现在的FSD减震机?再想得美一点,有没有可能比亚迪全集团全员减震机都能电磁化?以后798的秦也能享受一下这个青春版云辇-Z?这就有点吓人了……

写在最后
毫无疑问,云辇-Z是一套颠覆性的先进技术,直线电机的特性决定了它不光能让车“浮”起来,也能够主动把车轮“提”回去。因为结构原因,以直线电机驱动的云辇-Z的反应速度一定要比以高压液压作为核心的云辇-X速度更快、幅度更大,在加上作为轿车的仰望U7悬架行程要比跑车仰望U9大得多,它必然会给我们带来更离谱的体验。

当然要说明的是,电磁悬架系统并不是由比亚迪首创的,无数的制造商在过去的几十年年时间里都推出过演示样机,比如著名的BOSE。比亚迪的云辇-Z之所以伟大,是因为它是历史上第一个真正将电磁悬架系统大批量量产的车企。就像我在U7的那条视频里说的那样,汽车工业编年史上会写下这样的一页:电磁悬架系统,由中国的比亚迪仰望汽车首次实现量产,这个第一,由我们中国人写下。(文/Nice好车 深坑同志;图/部分来源于国家专利网站)
文章来自互联网,只做分享使用。发布者:叮当,转转请注明出处:https://www.dingdanghao.com/article/458488.html
