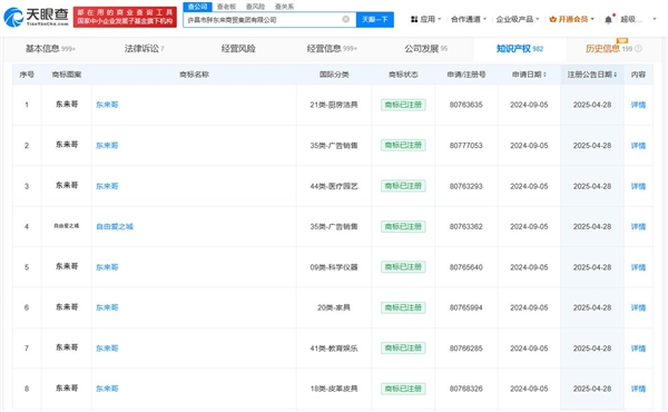
电脑知识网5月8日消息,据天眼查显示,胖东来已经成功注册“于东来”“东来哥”“自由爱之城”“胖东来爱之城”商标,国际分类涉及广告销售、教育娱乐、皮革皮具等。


近日来,胖东来老板于东来真的有点“烦”,前有网络“黑嘴”恶意中伤,后有山寨商场“胖都来”蹭其流量,还集结一批明星为其开业站台。
更离谱的是,还有多方公司申请注册了“胖南来”“胖西来”“胖北来”“胖冬来”等胖东来近似商标,
同时,多家公司和店铺还以“胖东莱”命名,包括莱山区胖东莱板面店(个体工商户)、尤溪县胖东莱餐馆(个体工商户)、辽阳县胖东莱生鲜超市(个体工商户)、山南新区胖东莱日用品超市(个体工商户)等。
事实上,胖东来虽然是一家地方性的商超,但其影响力目前已不容小视,在老百姓眼里也是标准的名牌。
而“傍名牌”行为危害巨大,不仅损害企业的合法利益,也严重侵害了消费者权益,消费者很可能因品牌混淆,购买到质量与预期不符的产品,影响消费体验。
据有关人士表示,要解决“傍名牌”问题,需要企业、监管部门和消费者共同努力。企业应强化品牌保护意识,完善商标注册体系;监管部门需加大执法力度,优化维权流程,提高侵权违法成本,形成强有力的震慑。
文章来自互联网,只做分享使用。发布者:,转转请注明出处:https://www.dingdanghao.com/article/857322.html
