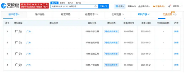
电脑知识网6月20日消息,广汽华为合作公司——华望汽车技术(广州)有限公司于2025年5月申请注册了多枚“广为”“启境”“至境”“元方”等商标。


华望汽车成立于2025年3月,由广汽集团全资持股,其法定代表人为閤先庆,注册资本高达15亿人民币。

据相关报道,华望汽车是广汽集团与华为合作的产物。
华望汽车计划打造独立的高端汽车新品牌,其车型将配备华为智能驾驶软件、智能座舱、智能车控等解决方案。
近期,该公司开启了大规模招聘,涵盖研发、技术、产品等多个方向,岗位数量超过100个。
文章来自互联网,只做分享使用。发布者:,转转请注明出处:https://www.dingdanghao.com/article/933955.html
