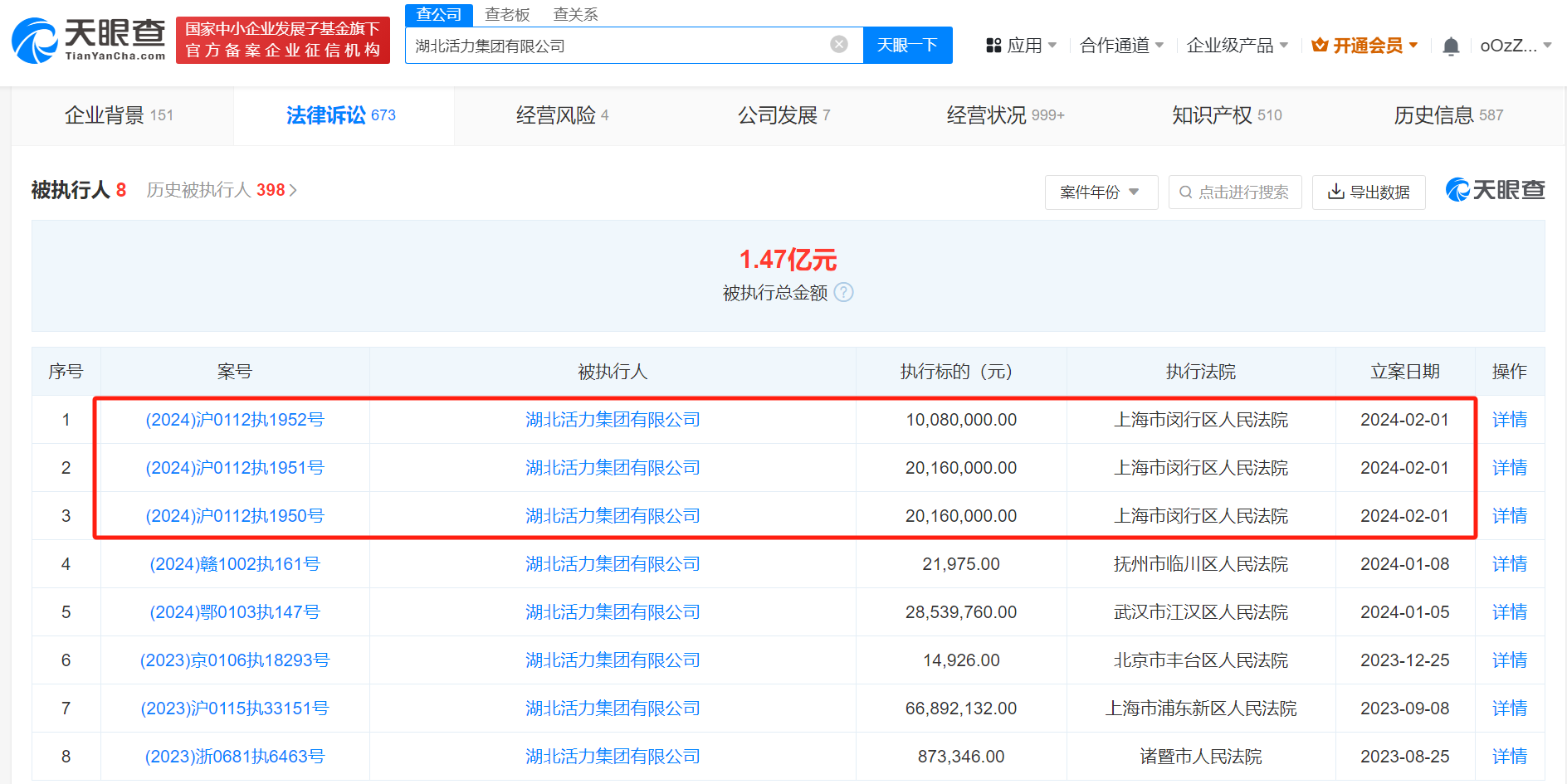
天眼查App显示,近日,湖北活力集团有限公司及其董事长李健飞新增3则被执行人信息,执行标的合计5040万元,均涉及金融借款合同纠纷案件,执行法院均为上海市闵行区人民法院。
风险信息显示,该公司现存8条被执行人信息,被执行总金额超1.4亿元。此外,该公司还存在多条限制消费令、失信被执行人(老赖)和终本案件信息。去年11月,该公司被厦门钰出股权投资合伙企业(有限合伙)申请破产重整,法院裁定受理该案。



本文转载自天眼查,转载目的在于传递更多信息,并不代表本站赞同其观点和对其真实性负责。如涉及作品内容、版权和其它问题,请联系天眼查通知我方删除,我方将在收到通知后第一时间删除内容!本文只提供参考并不构成任何投资及应用建议。本站拥有对此声明的最终解释权。