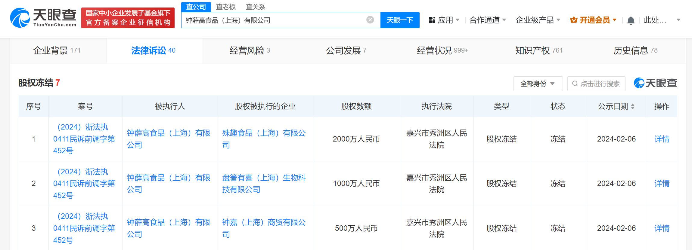
天眼查App显示,近日,钟薛高食品(上海)有限公司新增3则股权冻结信息,冻结股权数额分别为2000万人民币、1000万人民币、500万人民币,股权被执行的企业分别为殊趣食品(上海)有限公司、盘箸有喜(上海)生物科技有限公司、钟嘉(上海)商贸有限公司,冻结期限自2024年2月6日至2027年2月5日,执行法院均为嘉兴市秀洲区人民法院。
钟薛高食品(上海)有限公司成立于2018年3月,法定代表人为林盛,注册资本约12亿人民币,经营范围包括食品销售、食用农产品零售、日用百货销售、服装服饰零售等。股东信息显示,该公司由Gloryseed HK Limited全资持股。风险信息显示,该公司所持多家公司股权已被冻结。


本文转载自天眼查,转载目的在于传递更多信息,并不代表本站赞同其观点和对其真实性负责。如涉及作品内容、版权和其它问题,请联系天眼查通知我方删除,我方将在收到通知后第一时间删除内容!本文只提供参考并不构成任何投资及应用建议。本站拥有对此声明的最终解释权。