据报道,近日,央视春晚节目《上春山》演员服装、站位引发争议。
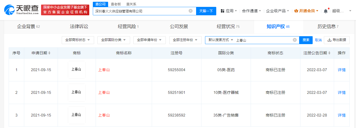
天眼查App显示,“上春山”已于2021年9月被深圳春火火供应链管理有限公司申请注册为商标,国际分类包含广告销售、医疗器械、医药,3枚商标已于2022年2月、3月注册成功。


本文转载自天眼查,转载目的在于传递更多信息,并不代表本站赞同其观点和对其真实性负责。如涉及作品内容、版权和其它问题,请联系天眼查通知我方删除,我方将在收到通知后第一时间删除内容!本文只提供参考并不构成任何投资及应用建议。本站拥有对此声明的最终解释权。
据报道,近日,央视春晚节目《上春山》演员服装、站位引发争议。
天眼查App显示,“上春山”已于2021年9月被深圳春火火供应链管理有限公司申请注册为商标,国际分类包含广告销售、医疗器械、医药,3枚商标已于2022年2月、3月注册成功。


本文转载自天眼查,转载目的在于传递更多信息,并不代表本站赞同其观点和对其真实性负责。如涉及作品内容、版权和其它问题,请联系天眼查通知我方删除,我方将在收到通知后第一时间删除内容!本文只提供参考并不构成任何投资及应用建议。本站拥有对此声明的最终解释权。