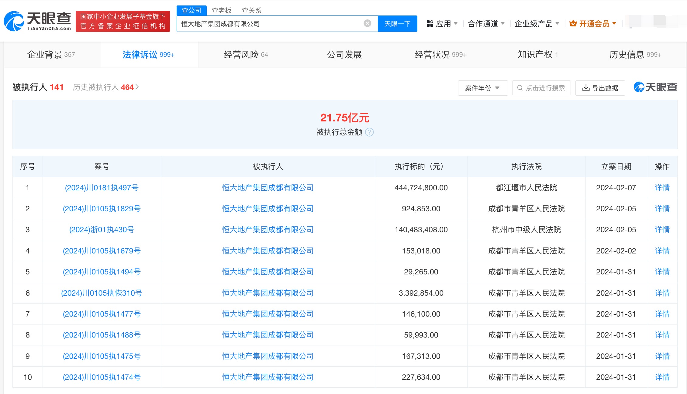
天眼查App显示,近日,恒大地产集团成都有限公司、都江堰恒玺房地产开发有限责任公司、林芝恒大旅游发展有限公司新增被执行人信息,执行标的4.4亿余元,涉及建设工程施工合同纠纷案件,执行法院为都江堰市人民法院。
恒大地产集团成都有限公司成立于2006年7月,法定代表人为杨珩,注册资本约5.79亿人民币,经营范围含房地产开发经营、安装制冷空调设备、园林绿化工程、室内装饰等。风险信息显示,该公司现存140余条被执行人信息,被执行总金额超21亿元,此外还存在多条限制消费令、失信被执行人(老赖)和终本案件信息。


本文转载自天眼查,转载目的在于传递更多信息,并不代表本站赞同其观点和对其真实性负责。如涉及作品内容、版权和其它问题,请联系天眼查通知我方删除,我方将在收到通知后第一时间删除内容!本文只提供参考并不构成任何投资及应用建议。本站拥有对此声明的最终解释权。