天眼查App显示,近日,恒大地产集团有限公司新增一则股权冻结信息,冻结股权数额13.08亿人民币,股权被执行的企业为恒大地产集团武汉有限公司,冻结期限自2024年2月19日至2027年2月18日,执行法院为宜昌市中级人民法院。
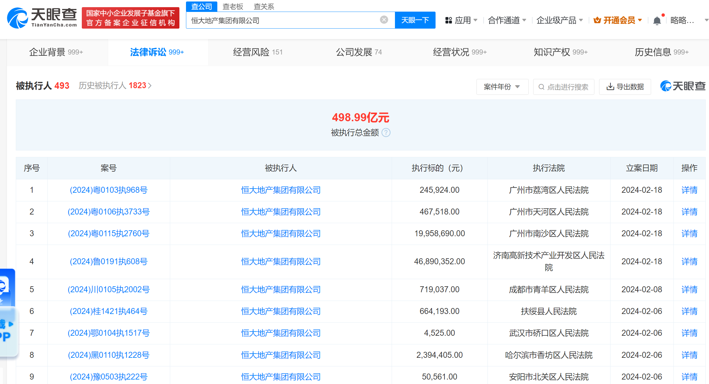
风险信息显示,恒大地产集团有限公司现存数百条股权冻结信息,持有的多家公司股权已被冻结。该公司还存在490余条被执行人信息,被执行总金额超498亿元,另外还有多条限制消费令、失信被执行人(老赖)和终本案件信息。


本文转载自天眼查,转载目的在于传递更多信息,并不代表本站赞同其观点和对其真实性负责。如涉及作品内容、版权和其它问题,请联系天眼查通知我方删除,我方将在收到通知后第一时间删除内容!本文只提供参考并不构成任何投资及应用建议。本站拥有对此声明的最终解释权。