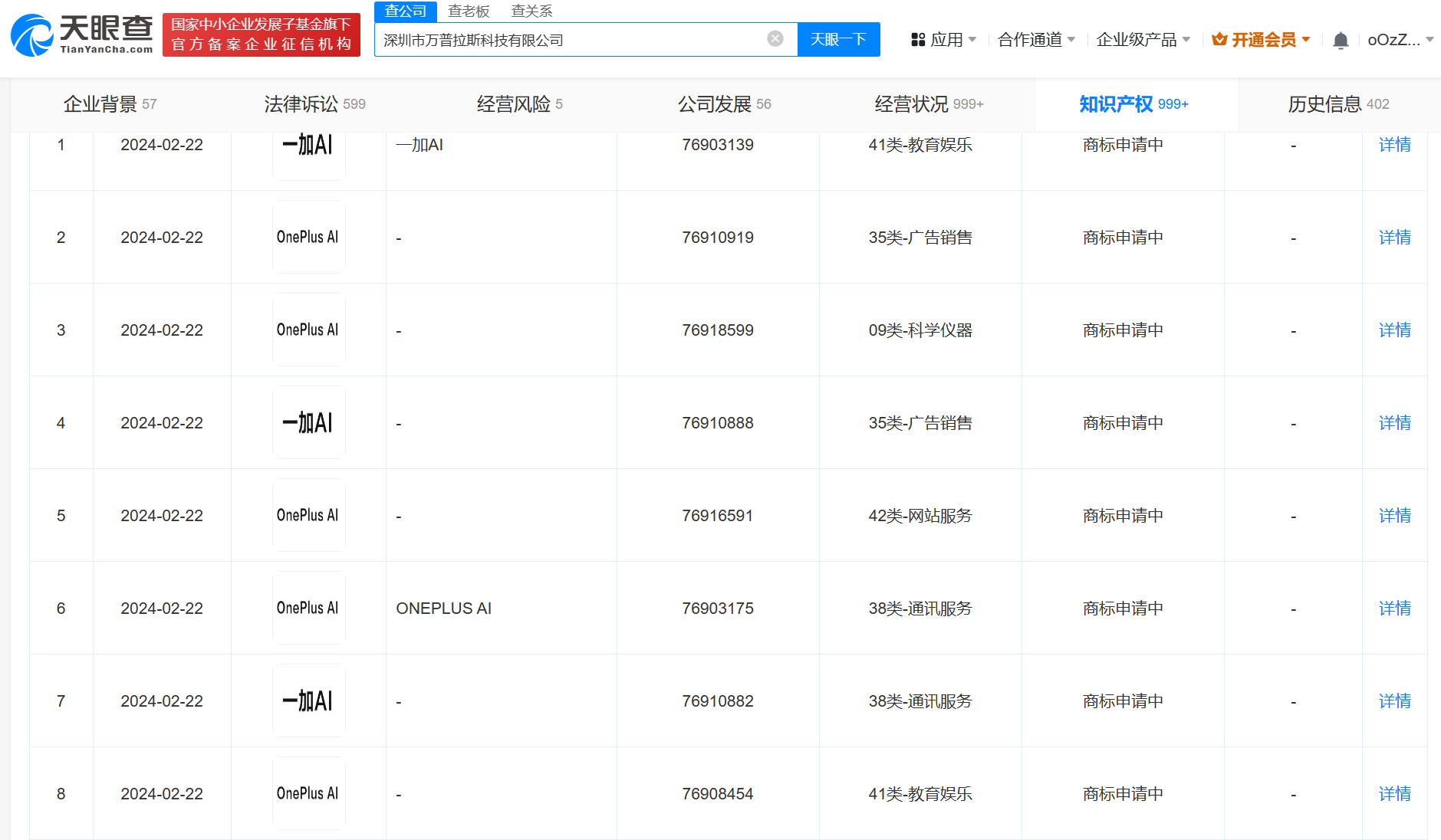
天眼查知识产权信息显示,近日,一加手机关联公司深圳市万普拉斯科技有限公司申请注册多枚“一加AI”“OnePlus AI”商标,国际分类包括科学仪器、网站服务、通讯服务等,当前商标状态均为申请中。
据媒体报道,近期,一加旗下一加12、一加Ace3等机型全面升级AI大模型,支持近百项AI功能。



本文转载自天眼查,转载目的在于传递更多信息,并不代表本站赞同其观点和对其真实性负责。如涉及作品内容、版权和其它问题,请联系天眼查通知我方删除,我方将在收到通知后第一时间删除内容!本文只提供参考并不构成任何投资及应用建议。本站拥有对此声明的最终解释权。