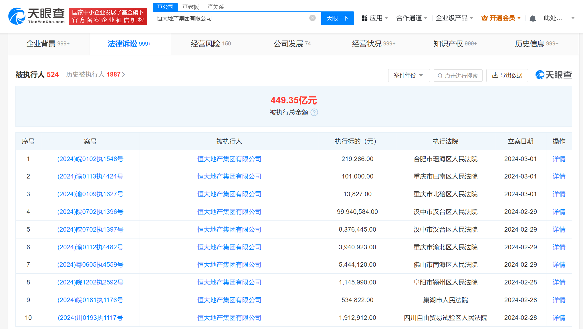
天眼查法律诉讼信息显示,2月28日至3月1日,恒大地产集团有限公司新增14则被执行人信息,执行标的合计1.3亿余元,涉及票据追索权纠纷、金融借款合同纠纷等案件,部分案件被执行人还包括合肥粤诚置业有限公司、恒大地产集团重庆有限公司、汉中华联置业有限公司等。
风险信息显示,恒大地产集团有限公司现存520余条被执行人信息,被执行总金额超449亿元。此外,该公司还存在多条限制消费令、失信被执行人(老赖)和终本案件信息。


本文转载自天眼查,转载目的在于传递更多信息,并不代表本站赞同其观点和对其真实性负责。如涉及作品内容、版权和其它问题,请联系天眼查通知我方删除,我方将在收到通知后第一时间删除内容!本文只提供参考并不构成任何投资及应用建议。本站拥有对此声明的最终解释权。