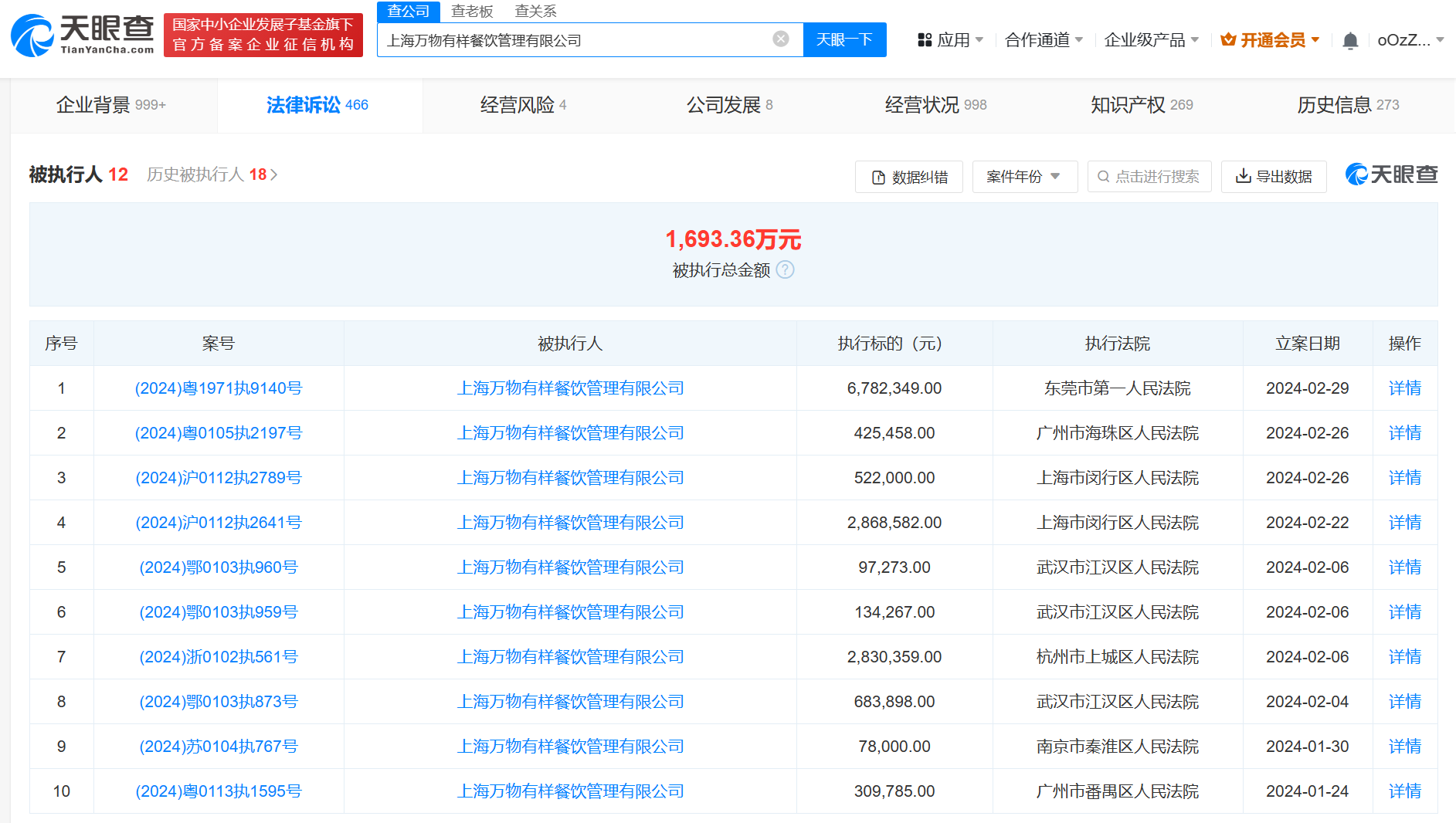
天眼查法律诉讼信息显示,近日,虎头局关联公司上海万物有样餐饮管理有限公司及胡亭新增一则被执行人信息,执行标的678万余元,执行法院为东莞市第一人民法院。
上海万物有样餐饮管理有限公司成立于2020年12月,法定代表人、董事长兼总经理为胡亭,注册资本约15万人民币,由胡亭、上海饱佑企业管理合伙企业(有限合伙)、宋欢平等共同持股。风险信息显示,该公司现存多条被执行人信息,被执行总金额超1693万元,此外还存在多条限制消费令、失信被执行人(老赖)及终本案件信息。今年1月,该公司被申请破产审查。



本文转载自天眼查,转载目的在于传递更多信息,并不代表本站赞同其观点和对其真实性负责。如涉及作品内容、版权和其它问题,请联系天眼查通知我方删除,我方将在收到通知后第一时间删除内容!本文只提供参考并不构成任何投资及应用建议。本站拥有对此声明的最终解释权。