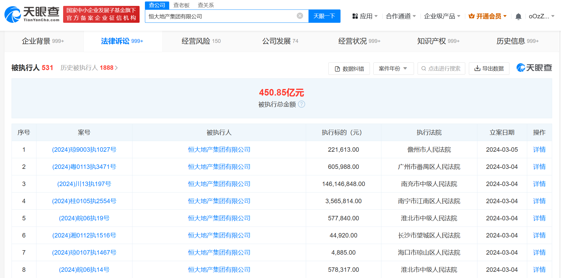
天眼查法律诉讼信息显示,3月4日至5日,恒大地产集团有限公司新增8则被执行人信息,执行标的合计1.5亿余元,涉及建设工程施工合同纠纷、买卖合同纠纷等案件,部分案件被执行人还包括恒大集团有限公司、广州市恒大装修设计院有限公司等,执行法院包括南充市中级人民法院、南宁市江南区人民法院等。
风险信息显示,恒大地产集团有限公司现存531条被执行人信息,被执行总金额超450亿元。此外,该公司还存在多条限制消费令、失信被执行人(老赖)和终本案件信息。


本文转载自天眼查,转载目的在于传递更多信息,并不代表本站赞同其观点和对其真实性负责。如涉及作品内容、版权和其它问题,请联系天眼查通知我方删除,我方将在收到通知后第一时间删除内容!本文只提供参考并不构成任何投资及应用建议。本站拥有对此声明的最终解释权。