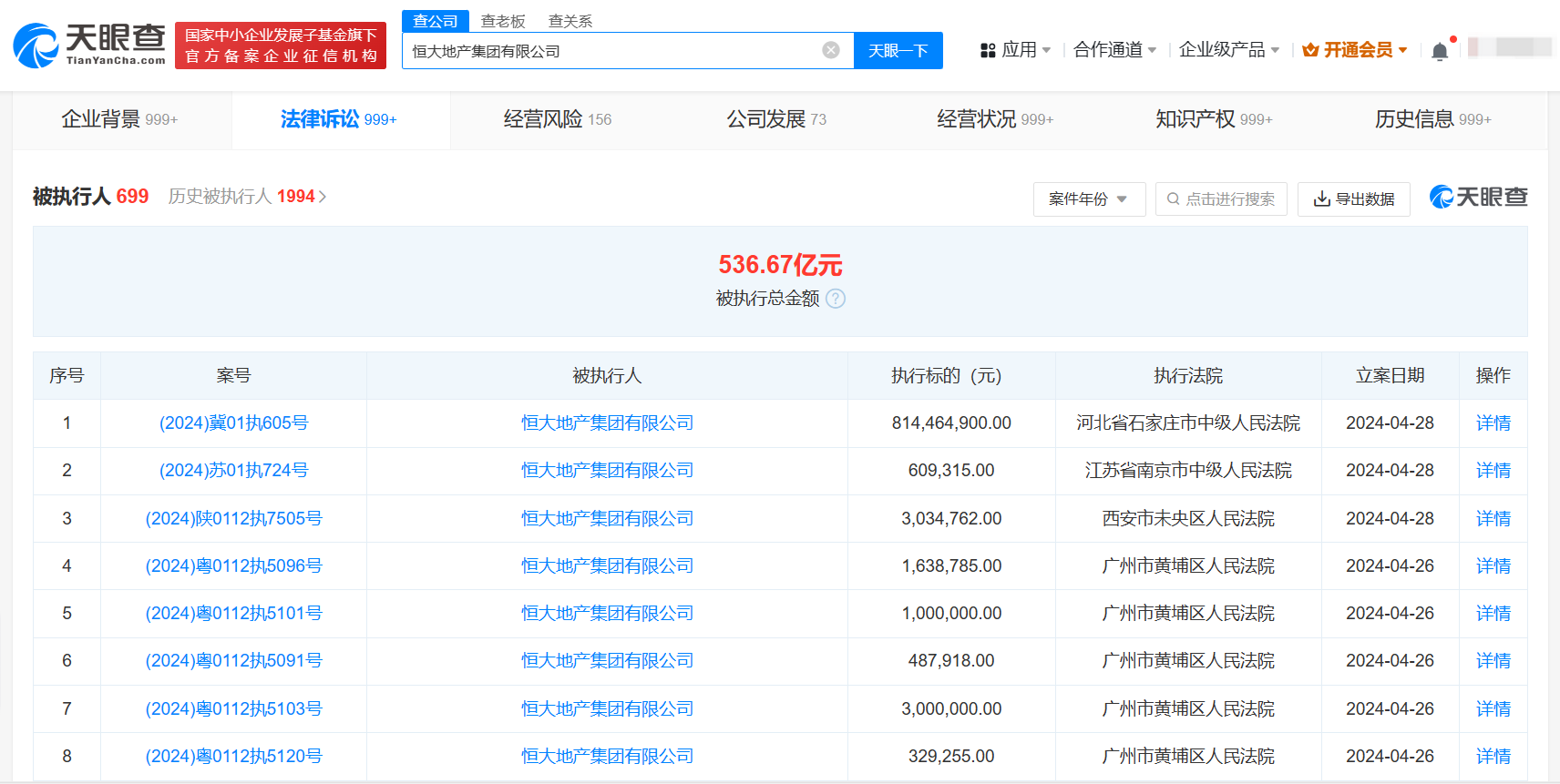
天眼查法律诉讼信息显示,近日,恒大地产集团有限公司及其控股的河北建投西柏坡宏越房地产开发有限公司新增一条被执行人信息,执行标的8.1亿余元,执行法院为河北省石家庄市中级人民法院。
风险信息显示,恒大地产集团有限公司现存699条被执行人信息,被执行总金额超536亿元。此外,该公司还存在多条限制消费令、失信被执行人(老赖)和终本案件信息。


本文转载自天眼查,转载目的在于传递更多信息,并不代表本站赞同其观点和对其真实性负责。如涉及作品内容、版权和其它问题,请联系天眼查通知我方删除,我方将在收到通知后第一时间删除内容!本文只提供参考并不构成任何投资及应用建议。本站拥有对此声明的最终解释权。