HI,欢迎来到叮当号
首页
科技
电脑
电脑技术
笔记本
电脑配置
电脑知识
手机
OPPO
华为
荣耀
小米
vivo
苹果
宅秘
汽车
互联网
早报
网络新鲜事
朋友圈
网红
数码
硬盘
处理器
内存
显示器
鼠标
打印机
路由器
显卡
专题列表
排行榜
天梯图
快讯
更多页面
网址导航
标签归档
用户列表
全宽页面
搜索
搜索全站
热门标签:
#Vision Pro
标签为 #Vision Pro 内容如下:
首页
Tag Archives: Vision Pro
( Page 6 )
发售两个月后 苹果Vision Pro几乎已无人问津
代号邱小姐
2年前
75
高德地图宣布苹果Vision Pro版上线:交互方式更身临其境
张大嘴
2年前
68
用户吐槽苹果Vision Pro:佩戴后头疼、眼睛疲劳、黑眼圈
周斌
2年前
91
价值超10万元!海关查获4台未申报苹果Vision Pro
叮当
2年前
121
苹果拉来重要伙伴:曝腾讯应用即将登陆Vision Pro
城南北边
2年前
116
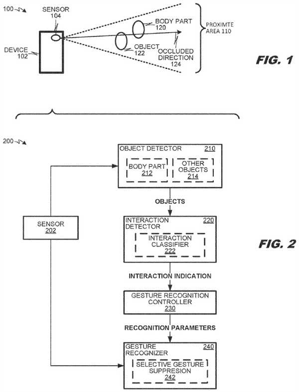
Vision Pro手势操作下放给iPhone/iPad!苹果新专利出炉
代号邱小姐
2年前
129
苹果新专利:iPhone、iPad等设备可使用Vision Pro头显空中手势
周斌
2年前
116
3万元一张的“果味”大饼 苹果Vision Pro上手体验
weapp
2年前
118
苹果官方代码泄天机!Vision Pro国行版来了
老板不要肥肉
2年前
148
苹果Vision Pro成本揭秘:售价高昂的原因找到了
周斌
2年前
81
上一页
1
…
4
5
6
7
8
…
11
下一页
首页
科技
电脑
电脑技术
笔记本
电脑配置
电脑知识
手机
OPPO
华为
荣耀
小米
vivo
苹果
宅秘
汽车
互联网
早报
网络新鲜事
朋友圈
网红
数码
硬盘
处理器
内存
显示器
鼠标
打印机
路由器
显卡
专题列表
排行榜
天梯图
快讯
更多页面
网址导航
标签归档
用户列表
全宽页面