Vision
-
Redmi K70、Redmi Turbo3、Redmi K70E 到底怎么选?
自从redmi turbo3发布以后,网上的很多朋友认为turbo3性价比并不高,在1999元这个价格段,有已经发布的一加ace3v、真我gt neo6 se,还有没有发布的 iqoo z9 turbo,都是很强有力的对手。不过在这个价格能
-
网传苹果 Vision Pro 4 月 31 日国内预售 是愚人节玩笑?
2023年,苹果公司推出了他们最重磅的新品之一,苹果 vision pro。于今年2月在美国正式上市,上市之初,部分国内消费者为了第一时间体验该设备,不惜特地到美国购买该产品。不过目前并没有消息称,该设备很可能就将在国内正式开售。苹果 Vi
-
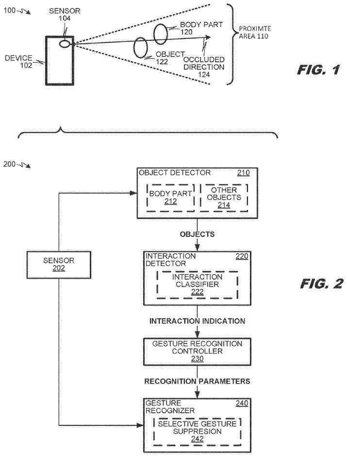
Vision Pro 功能下放?iPhone、iPad 等设备或将支持空中手势
根据最近公示的世界知识产权局(wipo)清单显示,苹果公司最新获得了一项名为《gesture recognition with hand-object interaction》的手势识别专利。这一消息暗示着现在针对 vision pro 头
-
怎么安装AquaSoft Photo Vision免费版?AquaSoft幻灯片制作软件安装步骤
AquaSoft Photo Vision免费版安装教程!AquaSoft Photo Vision是一款非常出色的图像处理软件。我们早就超越了照片展示的话题。多年来,我们的程序能够做的远远超过 SlideShow 所能表达的名字。随着新版本 13,新名称更改为 AquaSoft Vision。因此,Vision 是流行的 AquaSoft 幻灯片程序的直接…