哪吒汽车

  • 员工集体讨薪!哪吒汽车原CEO张勇已停更8个月:曾去英国融资

    电脑知识网6月12日消息,据媒体报道,近日哪吒汽车员工发布短视频,哪吒汽车董事长兼CEO方运舟被堵在办公室,员工集体讨薪,随后哪吒汽车内部宣布,员工自6月12日起居家办公。 网友发现,哪吒汽车原CEO张勇已停更8个月时间,其微博最后更新时间停留在2024年10月。 在辞去哪吒汽车CEO之后,张勇被曝办理了英国签证,本人身在英国,对此张勇在朋友圈回应称至今仍担…

    2025-06-12
    2400
  • 员工讨薪风波后 哪吒汽车今起居家办公:CEO方运舟前往桐乡

    电脑知识网6月12日消息,据媒体报道,哪吒汽车内部宣布,员工今日起将居家办公,办公室门禁已经失效。 报道称,哪吒汽车内部人士还透露,哪吒汽车董事长兼CEO方运舟已前往桐乡。 据悉,桐乡是哪吒汽车(合众新能源汽车股份有限公司)注册地和工厂所在地。 日前,还有多段方运舟被围堵讨薪的视频在网络流传,不少员工围坐在方运舟办公室门口,讨要被拖欠的工资。 面对员工质问,…

    2025-06-12
    700
  • 哪吒汽车CEO被员工围堵在办公室:大家集体讨薪

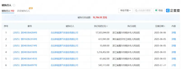
    电脑知识网6月12日消息,据媒体报道,不少哪吒汽车员工发布短视频,哪吒汽车董事长兼CEO方运舟被堵在办公室,员工集体讨薪。 此前在5月份,哪吒汽车上海总部LOGO被拆除,公司计划将上海总部从普陀区搬往虹桥商务区,新总部开工没多久就有员工讨薪。 值得注意的是,天眼查法律诉讼信息显示,近日哪吒汽车关联公司合众新能源汽车股份有限公司新增一则被执行人信息,执行标的1…

    2025-06-12
    1600
  • 危机加剧!哪吒汽车再被执行1750万:总金额超1.5亿元

    电脑知识网6月10日消息,近日,企查查法律诉讼信息显示,哪吒汽车关联公司合众新能源汽车股份有限公司新增一则被执行人信息,执行标的为1750万余元,执行法院为桐乡市人民法院。 据现有信息,该公司现存100余条被执行人信息,被执行总金额已超1.5亿余元。 今年6月,因违反劳动保障监察条例被桐乡市人力资源和社会保障局处以3.3万元罚款。 处罚信息显示,该公司于20…

    2025-06-11
    1200
  • 违反劳动保障监察条例!哪吒汽车被罚3.3万元

    电脑知识网6月3日消息,哪吒汽车关联公司合众新能源汽车股份有限公司,因违反劳动保障监察条例被桐乡市人力资源和社会保障局处以3.3万元罚款。 处罚信息显示,该公司于2025年3月24日和4月9日在浙江省嘉兴市桐乡市同仁路988号实施了“经责令改正拒不改正的行为”,违反了《劳动保障监察条例》第六条的规定。 据了解,《劳动保障监察条例》第六…

    2025-06-03
    1300
  • 继高合之后 哪吒也得“去创始人化”

    债转股失败 自救路难走 高合“复活”后,哪吒那边也有了动静,不过两者解决的方式殊途同归: 老板可能得退位。 根据21世纪经济报道,哪吒汽车为了减轻债务盘活自己所实行的“债转股”方案基本宣告失败,原因是仍有数亿元的债务无法得到解决。 有投资方还想保住哪吒,但条件是罢免哪吒汽车创始人、董事长兼CEO的方运舟。 而在…

    2025-06-02
    1900
  • 哪吒汽车“债转股”失败 金主出手前提是让创始人方运舟出局

    电脑知识网5月30日消息,据报道,哪吒汽车债转股计划未能如愿实施,投资方要求罢免现任CEO方运舟。 知情人士向媒体透露,哪吒汽车为减轻债务压力寻求新融资,原计划通过债转股方式化解约30亿元的债务,以满足投资方提供新资金的条件。 但愿意接受“债转股”方案的供应商仅能帮助哪吒化解20亿出头的债务,“剩下几亿元实在啃不动了。&r…

    2025-05-30
    1100
  • 张勇曾称制作哪吒LOGO不下5亿 如今LOGO连夜悄然拆除

    电脑知识网5月29日消息,近日,有网友发布视频爆料称,哪吒汽车上海总部大楼的logo已经连夜被拆。 此前,曾有传闻称,哪吒汽车logo花费高达5亿元。今年4月18日,哪吒汽车前CEO张勇在朋友圈进行澄清。 张勇称,哪吒汽车的喷泉标早在2018年6月1日就已投入使用,Logo设计费不超过100万元。这七年合众的品牌传播与产品推广都是围绕“哪吒&rd…

    2025-05-29
    1500
  • 哪吒汽车回应上海总部LOGO被拆除:因场地到期公司要搬家

    电脑知识网5月29日消息,近日,有网友晒出图片,哪吒汽车上海总部外墙的“哪吒汽车”字样LOGO被连夜拆除。 从图片上看,3名工人在夜里通过楼顶吊绳,将哪吒汽车LOGO拆除,还用刮刀进行清理。 此前,曾有传闻称哪吒汽车logo花费高达5亿元。 今年4月18日,哪吒汽车前CEO张勇在朋友圈进行澄清。 张勇称,哪吒汽车的喷泉标早在2018年…

    2025-05-29
    1700
  • 实拍图曝光!网友称哪吒汽车上海总部LOGO被连夜拆除:曾经的新势力销冠

    电脑知识网5月29日消息,近日,网友发布照片和视频称,哪吒汽车上海总部外墙的“哪吒汽车”字样Logo已被连夜拆除。 一位简介为“哪吒汽车拖欠工资,底层牛马艰难讨薪”的网友@哪吒还我工资  发布的一段视频显示,三名工人在夜里通过楼顶吊绳,将哪吒汽车LOGO拆除,还用刮刀进行清理。 上图为原先的墙外Log…

    2025-05-29
    2400

联系我们

在线咨询: QQ交谈

邮件:442814395@qq.com

工作时间:周一至周五,9:30-18:30,节假日休息

关注微信公众号