华为Pura

  • Pura全家桶来了!华为注册Pura Pad、Pura Watch等多个商标

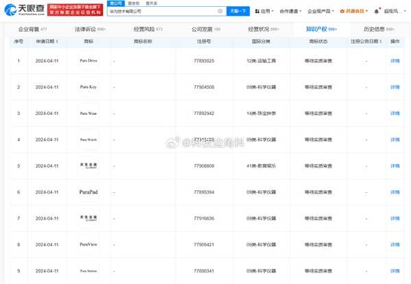
    5月9日消息,据公开资料显示,华为技术有限公司日前申请注册多个pura系列商标。
    其中包括PuraPad、Pura Drive、Pura Key、Pura Watch、PuraView、Pura Ultra、Pura Wear等,国际分类包

    2024-05-09
    7100
  • 独立系统要来了 华为申请PuraOS商标

    5月6日消息,根据公开资料显示,近日华为技术有限公司申请注册一枚“puraos”商标,国际分类为科学仪器,当前商标状态为等待实质审查。
    另外,华为此前已申请注册多个“Pura”“HUAWEI Pura”商标。业内纷纷猜测,这有可能是华为将为

    2024-05-07
    6200
  • 现货不用抢!华为Pura 70 Pro+登陆京东百亿补贴:7999元

    叮当号5月1日消息,华为Pura 70 Pro+登陆京东百亿补贴频道,售价是7999元(16GB+512GB),跟华为商城价格一致,消费者可以直接下单购买,不需要再参与预约抢购。 核心配置上,华为Pura 70 Pro+采用6.8英寸等深四曲屏,电池是5050mAh,支持100W有线和80W无线充,后置5000万像素超聚光摄像头(F1.4~F4.0光圈,OI…

    2024-05-01
    6700
  • 华为Pura 70系列抓拍一骑绝尘!真正的遥遥领先

    要说这几天手机圈最受关注的机型,那非全新的华为Pura 70系列莫属了。最近,华为发布了一支速度感大片,羽毛球世界冠军陈雨菲疾速击球的瞬间被华为Pura 70 Ultra手机精准捕捉,从抓拍照片来看,时速超300km/h的瞬间爆发力十足。 华为Pura系列由原P系列升级而来,发展至今,可以说P系列的发展史就是移动影像的发展史。从业界首发黑白彩色双摄,到首次商…

    2024-04-26
    11200
  • 华为Pura 70系列抓拍能力封神!轻松定格300km/h赛车

    众所周知,在羽毛球比赛中,球的速度非常快,想要用手机捕捉羽毛球运动员击球的瞬间和捕捉球的空中运动状态难度极高,但华为Pura 70系列给出了不一样的答案。 从华为官方发布的最新视频来看,华为Pura 70 Ultra轻松定格了羽毛球世界冠军陈雨菲的击球瞬间,并清晰捕捉了羽毛球掠过蒲公英丛时带起的花瓣以及穿越障碍时的羽毛球状态,让精彩跃然于屏幕前。 那么问题来…

    2024-04-25
    8100
  • 华为Pura 70 Ultra影像实拍:1英寸机皇实至名归

    就在不久前,华为正式发布了最新旗舰Pura 70系列。其中的Pura 70 Ultra,官方称其将成为移动影像的新里程碑。接下来咱们就来根据我这段时间的实拍体验和样张,为大家来解读一下这次华为Pura 70 Ultra的影像系统。 配置简析 首先来看外观,华为Pura 70 Ultra的机身整体采用了素皮材质,素皮表面通过高定刺绣压纹工艺将“星芒…

    2024-04-23
    9700
  • 华为Pura 70 Pro+开箱上手:P系列的一次凤凰涅槃

    华为的P系列手机一直以其出色的时尚质感与影像体验赢得了广大消费者的认可,不过在过去的一段时间里华为的P系列也经历了巨大的困难。 而现在,华为P系列以全新的Pura命名上演了一次凤凰涅槃,重新为我们带来了四款震撼人心的新机。 相信大家在过去的几天里,已经看了不少有关华为Pura 70 Ultra的内容,今天我们将为大家带来华为Pura 70系列的另外一款旗舰新…

    2024-04-22
    7600
  • 强过索尼1英寸 曝华为Pura 80搭载国产最强主摄

    叮当号4月22日消息,上周,华为终端官方宣布,将P系列升级为Pura系列,Pura 70成为该系列的首款机型。 随着Pura 70系列的上市,华为正在紧锣密鼓地筹备Mate 70系列和Pura 80系列的旗舰产品。 数码闲聊站透露,华为Pura 80系列将搭载豪威顶级传感器OV50X。这款传感器拥有超大感光元件,并且支持LOFIC技术。 相较于Pura 70…

    2024-04-22
    8000
  • 华为Pura 70系列选购指南:Pro版性价比最高

    华为在大家的意料之中,突然发售了期待已久的华为pura 70系列,详细大家已经看过不少华为pura 70系列的外观上手之类的视频了,对此我们也不再复述了,主要来聊一聊,作为消费者,华为pura 70系列该怎么选。
    华为Pura 70系列的版

    2024-04-21
    14100
  • 10999元!华为Pura 70 Ultra图赏:伸缩摄像头吸睛

    4月19日消息,昨日,华为pura系列正式开售,提供pura70、pura70 pro、pura70 pro+、pura70 ultra四款机型。
    Pura70 Ultra是其中最高端机型,起步价就是9999元(16GB+512GB),另有

    2024-04-19
    7500

联系我们

在线咨询: QQ交谈

邮件:442814395@qq.com

工作时间:周一至周五,9:30-18:30,节假日休息

关注微信公众号