天眼查

  • 京东方“驱动电路、驱动方法和显示装置”专利公布

    天眼查信息表明,京东方科技集团股份有限公司公开了名为“驱动电路、驱动方法和显示装置”的专利,公布日期为2025年2月14日,公布号为cn119446011a。 该发明提供了一种新的驱动电路、驱动方法和显示装置。驱动电路包括反相电路、第一输出节点控制电路、第二输出节点控制电路和输出电路;反相电路在显示周期的至少部分时间段内,对第一输出节点的电位进行反相,形成第…

    2025-05-13
    2100
  • 北方华创“半导体工艺腔室及半导体工艺设备”专利公布

    天眼查数据表明,北京北方华创微电子装备有限公司成功公布了“半导体工艺腔室及半导体工艺设备”专利,公布日期为2025年2月14日,公布号为cn118431057a。 该专利公开了一种用于半导体领域的半导体工艺腔室及半导体工艺设备。该半导体工艺腔室包括腔体、承载组件和连接组件。承载组件由多个第一承载件和多个第二承载件组成,其中一个第一承载件与相邻的第二承载件间隔…

    2025-05-13
    2400
  • 有哪些类似天眼查的企业查询软件

    在现代商业环境中,获取企业信息对投资者、创业者和合作伙伴至关重要。天眼查作为一款著名的企业查询工具,为用户提供了丰富且全面的企业数据。然而,除了天眼查,还有许多其他优秀的软件可供选择。 企查查 企查查是一款功能强大的企业信息查询工具。它收录了全国超过2亿家企业的数据,涵盖了企业的基本信息、工商变更、经营状况、司法风险、知识产权等多个方面。界面简洁明了,操作便…

    2025-05-13
    3500
  • 奕斯伟“晶棒对中的装置和方法,以及晶棒滚磨装置”专利公布

    根据天眼查的数据,西安奕斯伟材料科技股份有限公司公开了其“晶棒对中的装置和方法,以及晶棒滚磨装置”的专利,公布日期为2025年3月11日,公布号为cn119589561a。 本专利介绍了一种用于晶棒对中的装置和方法,以及晶棒滚磨装置。该晶棒对中装置包括:一个基座;两个固定在基座上并沿基座长度方向对称设置的夹持部,这两个夹持部分别与晶棒的两个端面进行相对抵压,…

    2025-05-12
    2300
  • 如何用天眼查进行提问 天眼查提问的教程

    在天眼查平台上,我们不仅可以查询企业的相关信息,还可以利用其提问功能与社区成员进行互动,获取官方的解答。如果你也想使用这个功能,以下是天眼查提问的具体步骤。希望这些指南能帮助到你。 天眼查提问的步骤 首先,启动天眼查APP,并在首页输入你想查询的公司名称。 进入该公司的详细信息页面后,找到并点击页面下方的【马上提问】按钮。 在弹出的对话框中输入你的问题,完成…

    2025-05-12
    2200
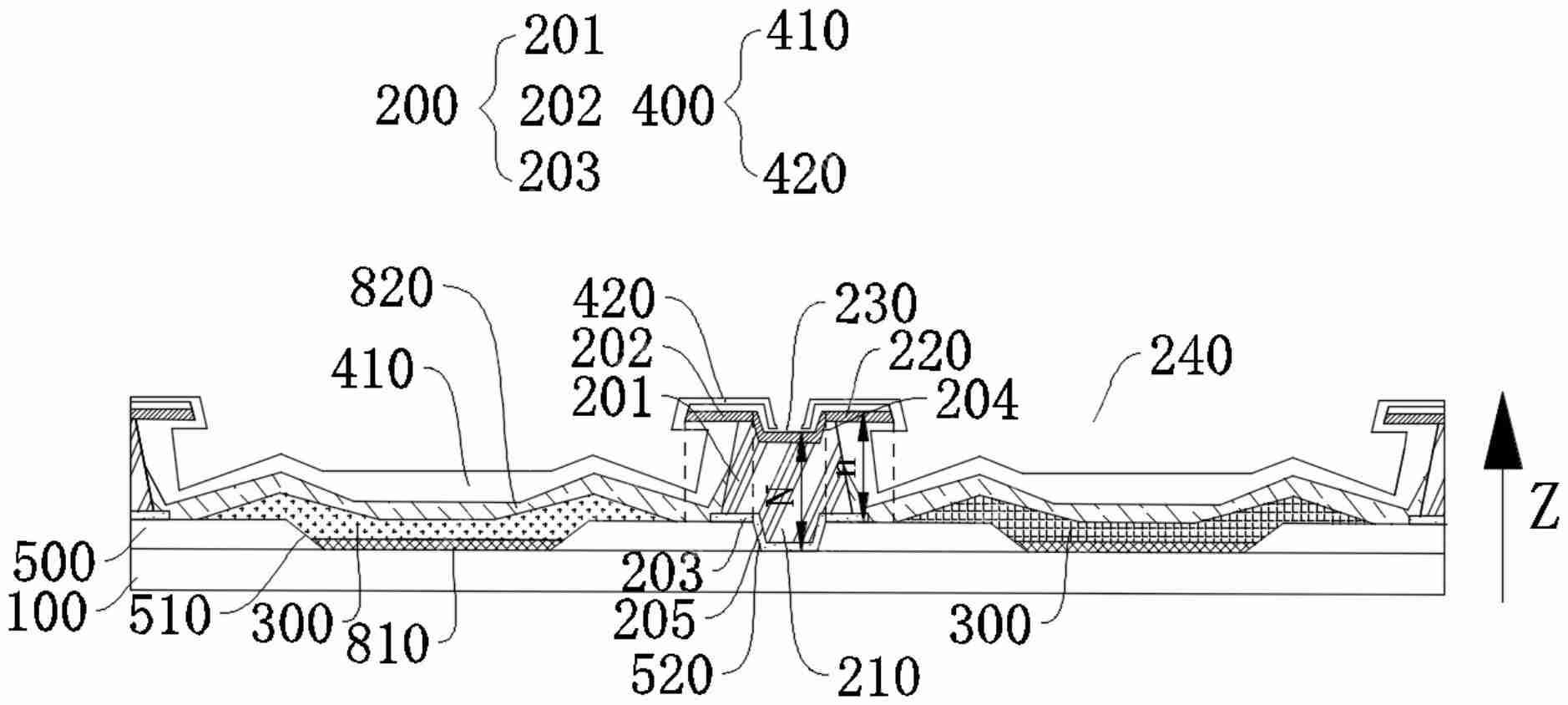
  • 维信诺“显示面板、显示装置及显示面板的制造方法”专利公布

    天眼查数据表明,维信诺科技股份有限公司公布了一项名为“显示面板、显示装置及显示面板的制造方法”的专利,公布日期为2025年2月14日,公布号为cn119451496a。 该专利实施例提出了一种新型的显示面板、显示装置及其制造方法。该方法包括:基板;像素定义层,位于基板一侧,包含像素限定部和由其围成的像素开口及第一凹部;隔离结构,位于基板一侧,通过围合形成多个…

    2025-05-11
    2500
  • 【专利】国科微“一种存储系统的访问控制方法、装置、存储系统及介质”专利公布;宁德时代“车辆底盘健康管理方法、装置与系统”专利公布;中科飞测“一种应用于半导体关键尺寸量测的X射线量测系统”专利公布

    1.宁德时代“车辆底盘健康管理方法、装置与系统”专利公布 根据天眼查的信息,宁德时代新能源科技股份有限公司发布了“车辆底盘健康管理方法、装置与系统”专利,公布日期为2025年3月11日,公布号为CN119604877A。 该专利提供了一种用于管理车辆底盘健康的方法、装置和系统,属于车辆技术领域。方法包括从云端设备获取底盘的评估标准信息,对底盘中待评估的子系统…

    2025-05-11
    2100
  • 中科飞测“一种应用于半导体关键尺寸量测的X射线量测系统”专利公布

    根据天眼查的资料,深圳中科飞测科技股份有限公司的一项专利“一种应用于半导体关键尺寸量测的x射线量测系统”已公布,公布日期为2025年3月11日,公布号为cn119594908a。 该发明属于半导体关键尺寸量测技术领域,具体提供了一种用于半导体关键尺寸量测的X射线量测系统。该系统包括兼容的CDSAXS量测系统和XRR量测系统、共用样品台、XRR运算系统以及SA…

    2025-05-11
    2300
  • 小米汽车公布电池健康状态预测专利 不再是“快乐表”?

    天眼查财产线索信息显示,近日,小米汽车科技有限公司申请的“电池健康状态预测方法及装置”专利已公布。 摘要显示,本专利涉及仿真运算领域。其具体步骤包括:首先获取第一训练数据集,利用该数据集训练电池状态预测模型以确定第一参数集,其中,第一训练数据集包含电池运行中的工况数据;然后获取第二训练数据集,利用该数据集进一步训练电池状态预测模型以确定第二参数集,第二训练数…

    2025-05-09
    1600
  • 华为已申请多个鸿蒙电脑相关商标 5 月 8 日正式亮相

    5 月 8 日,华为将在深圳举办 ” 鸿蒙电脑技术与生态沟通会 “,届时将正式发布首款基于鸿蒙系统的 pc。根据华为官方及产业链消息,鸿蒙 pc 将通过全栈自研的鸿蒙系统内核重构,强调 ” 分布式互联、原生流畅、设计革新 ” 三大优势,实现与手机、平板等设备的无缝协同。 据 CNMO 报道,早在今年 2 月,华…

    2025-05-09
    3500

联系我们

在线咨询: QQ交谈

邮件:442814395@qq.com

工作时间:周一至周五,9:30-18:30,节假日休息

关注微信公众号