雷军

  • 雷军:过去5年研发投入1050亿 未来5年再投2000亿元

    电脑知识网5月22日消息,5年前,小米10周年的时候,雷军宣布未来5年投入1000亿元用于研发。 最终,小米投入了约1020亿元,每年都在大幅增长,2025年预计可达300亿元。 根据财报,小米2024年总收入同比增长35%,世界500强排名397位,连续六年上榜,而且是最年轻的世界500强。 雷军现场宣布,未来5年(2026-2030年),小米的研发投入预…

    2025-05-22
    2000
  • 雷军今晚将讲三个小时 卢伟冰:YU7更偏向技术发布 后续会有产品发布

    电脑知识网5月22日消息,今晚7点,小米将举行发布会,发布小米自主研发设计的首款旗舰处理器玄戒O1和小米YU7。 雷军发微博称,小米汽车首款SUV小米YU7预计7月正式上市,今晚预发布会,不会公布正式价钱,也不会开启小定。 雷军还表示:“如果想了解更多细节,现在下载小米汽车APP,可以提前预约咨询。” 随后,不少小米高管纷纷发文透露今…

    2025-05-22
    1100
  • 小米今日发布会雷军讲全场 已彩排两次 米粉心疼担心太累

    电脑知识网5月22日消息,米粉们听到这个消息绝对开心,也会非常期待!昨日晚间,小米集团总裁卢伟冰提前“剧透”了小米15周年战略新品发布会主讲人:全场都由雷军主讲。 卢伟冰表示:已经听了两次彩排,但我还是非常期待明晚的发布会,雷总讲全场! 据了解,区别于以往新品发布会,作为小米集团15周年战略新品发布会,可谓意义重大,看点满满。 本次发…

    2025-05-22
    2700
  • 首发玄戒O1芯片!小米15S Pro今晚发布:堆料到收不回成本

    电脑知识网5月22日消息,小米15周年战略新品发布会将在今晚7点开启,由雷军亲自主讲。 这次最重磅的新品之一就是小米15S Pro,首发搭载小米自研3nm芯片玄戒O1。 这是小米自研手机主芯片,采用台积电第二代3nm工艺,集成190亿颗晶体管,10核CPU架构设计,性能接近骁龙8至尊版和天玑9400。 为了研发玄戒O1,小米投入巨大,截至2025年4月底,玄…

    2025-05-22
    1700
  • 雷军今晚发布!小米自研3nm芯片来了 到底由谁负责量产

    电脑知识网5月22日消息,今晚19点小米将举行新品发布会,届时自研芯片将正式登场。 按照雷军的说法,小米自研芯片重新上路是从2021年决定的,而玄戒O1是基于3nm工艺。 不过现在大家更关心的是,目前国内先进制程的代工能力仍处于瓶颈期,小米的3nm芯片最终由谁负责量产? 据芯片产业综合服务平台振芯荟联合创始人张彬磊的说法,当前国内已有多家企业具备3nm设计能…

    2025-05-22
    1200
  • 雷军:小米首款旗舰处理器玄戒O1、YU7今晚发布!

    电脑知识网5月22日消息,今天一早,雷军就发文预热今晚的小米战略新品发布会,并强调:小米自主研发设计的首款旗舰处理器玄戒O1和小米首款SUV小米YU7,今晚发布。 这两大新品都是对于小米有战略性意义的重磅旗舰,尤其是玄戒O1芯片,代表着小米如今的技术结晶,也代表着中国半导体的拥有世界顶级水准。 玄戒O1采用第二代3nm工艺,虽然官方没明说,但必然是台积电代工…

    2025-05-22
    1900
  • 雷军预热小米YU7:配色灵感来源大揭秘 还直呼YU7不可替代

    电脑知识网5月21日消息,今日上午,继回应了小米YU7能否突出重围的解答后,小米创始人雷军又在社交平台预热回应了小米YU7配色灵感来源。 雷军表示:宝石绿,小米YU7全新配色,充满生命力的彩色。 灵感来自哥伦比亚绿宝石,通过双层色漆工艺还原绿宝石的高级质感,随光影流转,呈现丰富的色彩层次。 与此同时,小米汽车也同步发布了小米YU7配色: 宝石绿,#小米YU7…

    2025-05-21
    900
  • 网红神曲《刚买的飞机被打了》成员创作《雷军之歌》:魔性十足

    电脑知识网5月21日消息,之前一首网红魔改神曲《刚买的飞机被打了》以迅雷不及掩耳之势在全球范围内掀起了波澜。 一时间,全球播放量在短短48小时内破亿 ,成为了不折不扣的现象级文化事件。 现在有网友发现,豪哥哥团队成员又创作了一首《雷军之歌》,虽然看起来相较于《刚买的飞机被打了》简单一些,但歌词才是亮点。 仙桃有个雷大哥,创新拼搏的小伙,武大不败的花朵,开挂人…

    2025-05-21
    1500
  • 雷军抖音51天后恢复更新!回应为何小米15S Pro搭载玄戒O1

    电脑知识网5月20日消息,今日,小米CEO雷军时隔51天后首次更新抖音,发布视频回应为什么选择小米15S Pro搭载玄戒O1。 他表示,玄戒O1是小米第一款自主研发设计的旗舰芯片,在设计之初,小米就确定这款芯片一定要用在小米高端旗舰定位的产品上,小米数字系列就是小米高端旗舰中最具代表性的系列,也深受米粉朋友们的喜欢。 雷军称,今年是小米的15周年,我们特别想…

    2025-05-20
    1600
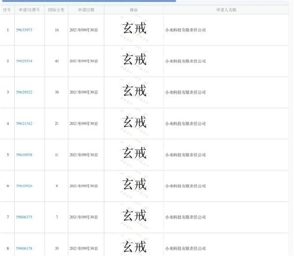
  • 自研3nm芯片量产!小米芯片商标遭抢注 已被驳回:网友称让雷总虚惊一场

    电脑知识网5月20日消息,按照官方公布的情况,本周四小米自研芯片就要正式跟大家见面,而尴尬的是有人提前抢注了相关商标。 据国内媒体报道称,国家知识产权局中国商标网显示,“小米芯片”于今年2月被自然人羊某申请注册商标,国际分类为医药,目前该商标申请已被驳回。 如果仔细看的话,从2021年9月30日小米就已为玄戒申请注册商标。 这个时间点…

    2025-05-20
    1500

联系我们

在线咨询: QQ交谈

邮件:442814395@qq.com

工作时间:周一至周五,9:30-18:30,节假日休息

关注微信公众号