众所周知,苹果在隐私方面一直做的很不错,也比较舍得研发投入。
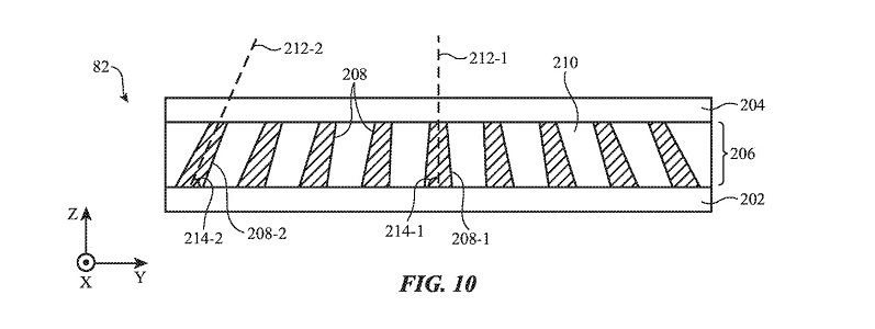
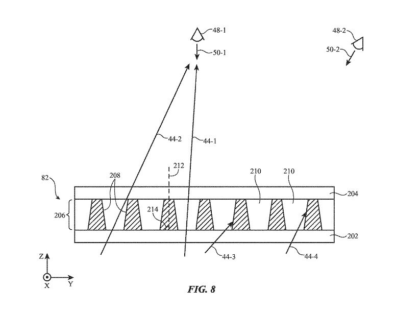
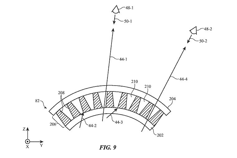
美国商标和专利局(USPTO)近日公示的清单显示,苹果公司又获得了一项关于 iPhone 的设计专利,可以通过在屏幕内嵌“电控滤波器”,控制屏幕的偏振程度,从而可以防止屏幕有被偷窥,更好的保护用户隐私。
此前,苹果还计划在 MacBook 中给屏幕加装“百叶窗”,灵活启用隐私模式。这项新专利采用了不同的设计思路,在屏幕中间添加偏振层,可以过滤一些颜色,确保只有在正面可以完全显示,在常规模式下可以正常显示,在“隐私”模式下只有正面才能看清。
对于大部分人来说,其实都很讨厌防窥屏的,觉得影响显示效果。但有时候,真的会被一些人恶心到,你干什么都伸个头来看一下,还读你微信发了什么给别人,以至于很多人都会考虑贴防窥膜。
但贴防窥膜一般屏幕会变得比较暗,对用户体验也会产生一定的影响。如果苹果会在未来iPhone中加入防偷窥功能,那无疑会成为新机的一大卖点。对此,小伙伴们是怎么看的呢?留言一起来聊聊吧。
文章来自互联网,只做分享使用。发布者:叮当,转转请注明出处:https://www.dingdanghao.com/article/51230.html





