84页、85页,理想(02015)和小鹏(09868)的2023年度ESG报告书厚度都几乎一致。它们于去年9月23日、10月23日,先后获得MSCI的AAA级ESG评价。
彼时被纳入MSCI考察范围的,全球有48家车企,只有不过4家能取得AAA这一成绩。而当前被考察的车企已增加到71家,也不过6家能获此殊荣,而两家中国车企的领先地位始终未变。
理想和小鹏均将这一成绩,分别写进其ESG年报的第7页和第6页。
把MSCI评级结果写进ESG年报的中国企业不算太多,它们更愿引用其他一些机构的打分或评价,尽管这些机构的影响力可能小得多,但评价也可能高得多。其中甚至存在潜规则,某国际知名评级机构的工作人员曾私下向笔者透露,一些企业既是评级机构的考察对象,同时又是金主,所以评价并不全是客观的。当然,即便不考虑这些问题,评级机构的打分在任何时候都只能是参考项。
但MSCI毕竟是全球最具影响力的评级机构之一,获得优级中的最优级,至少说明两家来自中国的新势力车企,其ESG表现不会太差。不过,两位优等生越是相似,就越让人好奇两者的差异——拿着放大镜去寻找它们的区别,企业的问题也随之更容易暴露。
ESG评级大体相当
ESG在全球都面临一个让人头疼的问题,评价标准很不一致。同是国际知名评级机构的晨星,对同一评价对象,就经常打出和MSCI不太相同的分数。
新浪ESG专题页当前收录的国内外多家主流机构评级结果显示,共有5家机构对理想和小鹏同时进行了考察,分别是MSCI、商道融绿、秩鼎、晨星(最新评分为去年Q3成绩)、妙盈,评价情况大致如下:
1、理想和小鹏均处在行业中上游以上的水平。
2、理想在商道融绿和晨星的评价中未获得优秀,小鹏则仅在晨星未取得优秀。
3、理想在秩鼎、晨星上的成绩以微弱优势领先于小鹏。
4、小鹏在商道融绿、妙盈的评价中取胜。其中,小鹏在商道融绿获评A-,理想为B+;妙盈提供的数据显示,小鹏以77.44分的成绩略领先于理想的75.79分。
5、除了同被评为AAA级,笔者未能获得MSCI对两家企业更精确的评分,因此难判高下。
妙盈提供的数据显示,小鹏ESG成绩为77.44分。
妙盈提供的数据显示,理想ESG成绩为75.79分。
综上所述,在5家主流评级机构眼中,理想和小鹏的整体实力相当。但小鹏的一个亮眼表现在于,获得了4家机构的优评,而理想为3家。
环境表现:小鹏有先天优势
当我们谈论新能源汽车时,几乎总是联想到“低碳”“环保”等流行语。
对车企进行ESG评价,三个维度的权重较为均衡,但如果硬要排个顺序,环境(E)表现通常被认为有一定优先度。妙盈提供给虎嗅的数据也显示,环境、社会责任(S)、治理(G)评分权重分别为38.13%、33.75%、28.13%。
在MSCI的评价中,一项重要标准是企业碳排放是否符合地球升温1.5摄氏度的控制目标。理想和小鹏均达到标准,而理想似乎更优,其经营活动的隐含升温(implied temperature rise)幅度为1.4摄氏度,优于小鹏的1.5摄氏度。
但除此以外,理想在其他视角下的环境表现逊色于小鹏。
公众环境研究中心(IPE)公布的企业气候行动指数(下称CATI)显示,小鹏以13.80分(满分为100分)的成绩略优于理想的13.30分。
小鹏的一个领先之处在于,它已经着手披露范围三排放数据。(编注:简单来说,范围一是指企业运营中产生的直接碳排放,例如公司使用自有燃油汽车产生的碳排放;范围二指企业使用从公用事业供应商所购能源所产生的间接排放,最主要的就是用电;范围三指除范围二以外的其他所有间接排放,例如整车企业从上游厂商采购轮胎,轮胎生产所导致的碳排放。)
通常认为,范围三能占到企业碳排放总量的九成,且极难计算,因此业界几乎都将范围三视为减排事业的关键。包括MSCI,也把企业是否披露范围三作为环境表现的评价要素之一。
在很多榜单上,小鹏都因此获得加分,尽管它披露得十分潦草——仅统计了“外购商品服务”和“员工差旅”两项,2023年范围三碳排量共计5491吨——几乎等于没有披露,相比之下,吉利(00175)统计并披露的范围三碳排量是小鹏的1万余倍。
勿以善小而不为,开始披露范围三排放,小鹏总归是领先了大多数国内企业——不仅仅是车企。
黄河科技学院客座教授张翔向虎嗅ESG组介绍说,相比理想大量产销增程式电动车,主营纯电动汽车的小鹏在环境表现方面具有先天优势,“驾驶理想汽车可能会消耗燃油,排放更多的二氧化碳。”
妙盈提供给虎嗅ESG组的环境评分显示,小鹏83.06分的成绩明显优于理想的74.59分;更细分一些,在温室气体排放方面,小鹏也以75.55分的成绩优于理想的66.38分。
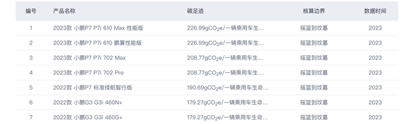
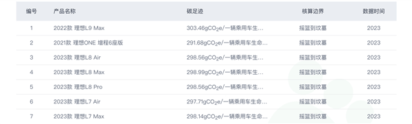
中国汽车产业链碳公示平台的数据更加直观。该平台收录了59款小鹏车型和10款理想车型的产品全生命周期碳足迹数据,其显示:小鹏车型中碳排量最高的为243.85gCO2e/km,最低的为172.25gCO2e/km,其中低于200gCO2e/km的有32款车型;理想车型中碳排量最高的为303.46 gCO2e/km,最低的纯电车MEGA Ultra也达到了269.28gCO2e/km——比碳排量最高的小鹏车型还要高10%以上。
小鹏的碳足迹数据表现优于理想。(截图自IPE官网,数据来源于中国汽车产业链碳公示平台)
社会责任:两家车企均有软肋
从MSCI公开的评价来看,理想和小鹏有着差不多的社会责任表现:处于领先地位的“劳工管理”,处于平均水平的“产品质量与安全”……
从妙盈提供给虎嗅ESG组的评分看,在S维度,小鹏以79.68分的成绩略优于理想的78.90分,但差距几乎可以忽略不计。考虑到权重问题,理想主要在“劳工管理”方面落后于小鹏,相差了超过13分。
张翔认为,理想的失分项可以体现在近期的裁员方面,“几乎有五分之一的员工要被裁”。
虎嗅汽车组上周刊发《理想裁员,下刀“快准狠”》一文指出:在理想公司内部,裁员消息导致一些尚未公布裁员结果的部门人心惶惶;如果算上外包团队,离职规模可能达到万人级别。“表面上看,裁员是对过往扩张迅猛与业务发展之间矛盾的一次纠错,但究其本质,架构调整和裁员行动反映出理想汽车对接下来业务发展的预判。”
界面新闻上周亦发表文章提到,裁员将导致纯电团队被收缩。这可能与理想MEGA销量不及预期,以及当前销量指引大幅下调有关。
理想CEO李想在5月20日的一季度财报业绩会上宣布:今年不会发布纯电SUV产品。
但对于上周的裁员传闻,截至目前,理想未作否认。
如果这些消息最终能被证实,“劳工管理”的失分还可能导致理想E项评分的下滑——相比增程式电动车,纯电产品本可拥有更好的环境表现。
MEGA是理想旗下的一款纯电产品。(图片来源:理想汽车官网)
妙盈的数据还显示,小鹏在“产品责任”方面,以70.47分的成绩略落后于理想的72.00分。
如果从全国12315消费投诉信息公示平台的数据看,在产品或服务质量方面,小鹏与理想的差异更明显。虎嗅ESG组在该平台上输入“小鹏汽车”“理想汽车”进行搜索,在已经过去的2024年4月份,涉及小鹏的投诉信息为108条,而理想为56条。值得一提的是,去年以来,理想汽车的销量远大于小鹏。
张翔分析说:“理想汽车成立之初就坚定自建智能制造基地和供应链体系,确保稳定有效的质量控制体系。并通过自建直营体系,包括零售、交付和售后维修与服务等,提高服务质量和商业效率。”
公司治理:小鹏反腐的AB面
从妙盈提供给虎嗅ESG组的评价看,在G维度上,小鹏以67.13分的成绩整体逊色于理想的73.68分。
但细分一些,小鹏也有领先的地方。MSCI公开的评价信息显示,理想在企业“对投资者影响”方面的表现相对逊色。
近期的一则新闻恰好与此有关。
全球投资者权益律师事务所罗森律师事务所不久前宣布,代表购买了理想股票的投资者提起集体诉讼,并公开征集投资者参与免费集体诉讼。起诉者认为:理想汽车的公开声明含有虚假信息和误导性,违反证券法并令投资者利益受损;比如,理想在推出首款纯电动汽车车型MEGA时,夸大了市场对车辆的需求和运营策略的有效性。
5月16日,理想通过媒体公开回应称:确实存在相关诉讼,但指控毫无依据,理想会全力保护公司和股东利益。
关于G维度另一重要的细分评价项,MSCI公开的评价信息显示,小鹏在“公司行为(如欺诈、腐败、洗钱、违反反垄断行为等)”方面的表现逊色于理想。
外界对此亦早有关注,事关“反腐败”议题:去年10月,包括小鹏汽车公司副总裁、采购部负责人李丰在内的多名员工停职配合调查。
消息传出后一度引发舆情。小鹏方面表示,李丰事件系企业正常的反腐倡廉行为。此后多家媒体报道指出,事件缘起小鹏汽车对内部供应链管理的加强,反腐牵涉多个层级,亦有警方介入。
汽车配件行业一家上市公司的中层干部告诉笔者:企业工作人员在与上下游合作商交往过程中,利用手中订单,彼此间吃拿卡要、索取回扣的现象不算罕见;但像小鹏汽车那样,一定程度上提升了整体采购成本的,确实不常见。
彼时,许多媒体报道将“反腐”与小鹏的“增效降本”关联起来,也反映出企业内部腐败问题的严重性。
小鹏在公司治理方面丢分一点也不冤。
但要看到的是,业界也有很多声音认为,小鹏的反腐风暴是一场主动作为。很多媒体在报道中提到,“铁娘子”王凤英于去年年初加盟并出任小鹏总裁,狠抓供应链管理,降低采购成本,李丰事件即为这场改革的副产品。
相比很多企业ESG年报中所载的进行了多少次主题培训,观看了多少场反腐教育陈列展,小鹏的反腐治理显然是落到了实处。从这一角度讲,如果持续主动作为,小鹏的腐败问题很可能成为历史。
正如前文所述的降低采购成本,“反腐败”不仅是ESG的重要子议题,而且与企业的财务绩效直接挂钩。在经历阵痛后,如果小鹏能够走出去年以来的产销低迷窘境,其公司治理显然是有机会补分的。
这也是优化ESG表现的核心目的之一——让投资者受益。





