作为苹果在这一领域推出的新产品,Vision Pro 上市后立即引起了相当大的轰动。
即使在今年6月国行版本上市时,虽然产品已经发布了一年,但依然有众多用户涌入线下店体验。
虽然体验者众多,但实际下单购买的人数可能并不多。
而导致这种情况的原因,恐怕是因为Vision Pro 的近3万元售价成为了消费市场拓展的主要障碍。
幸运的是,随着时间的推移,苹果内部也正在积极研发一款更为实惠的「平价版」Apple Vision产品,以降低购买门槛。

图片来源:IT之家
最新的报道显示,这款产品的研发正处于稳健推进阶段。据外媒 The Elec 报道,苹果目前正在就新型 Micro OLED 技术的开发与三星和 LG 旗下的显示公司进行洽谈,同时发布了相关的 RFI。RFI阶段是指产品规格确定之前,整机制造商向零部件供应商请求报价的阶段。
在这个阶段,制造商会从产品开发部门获取技术信息,以确定产品规格和后续采购计划。外界普遍认为,苹果此举旨在为下一代头显产品的开发做准备。值得一提的是,苹果要求的产品规格包括一块尺寸为2.0至2.1英寸的屏幕,像素密度达到1700 PPI。

图片来源:the elec
对比于Vision Pro搭载的1.42英寸、3391PPI高清屏幕,这款新苹果产品的屏幕尺寸显著更大,但像素密度却较低。这符合苹果一贯的产品策略,次级产品的硬件配置通常不及旗舰产品,并可能削减一些高端功能。
据彭博社的Mark Gurman报道,平价版Apple Vision可能会取消EyeSight功能。EyeSight功能是一项可以在佩戴时展示使用者眼部区域,帮助用户与他人流畅沟通的特色功能之一,也是Vision Pro的特点之一。
据外界普遍看法,平价版Apple Vision的定价大约为1500美元(约合10800人民币)。如果一切顺利,我们可能最早在2025年见到该产品推出。
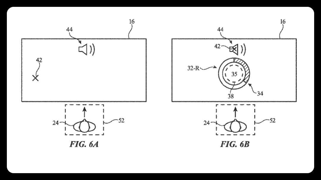
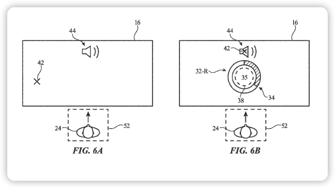
除此之外,苹果可能会在下一代Apple Vision产品中增加更多软件功能。根据美国商标专利局(USPTO)最近公布的一项苹果专利显示,苹果可能会为下一代头显产品引入“头部控制”功能。

图片来源:USPTO
根据专利描述,当用户戴上 Vision Pro 时,他们可以通过倾斜或旋转头部来操控屏幕上的界面。例如,要调整音量,只需左右扭动头部即可完成设置。
对于某些独特情景或双手无法自由的人群,这种全新的交互方式将大有裨益。
值得一提的是,目前 iPhone 和 iPad 已经实现了头部跟踪功能。启用该功能后,系统可捕捉头部旋转动作,并利用面部表情来控制 iPhone 和 iPad。

毕竟在辅助功能方面,苹果一直是个高手,未来或许会将这一功能嵌入 Vision Pro。
具体细节让我们拭目以待吧。
你对这个想法有什么看法呢?欢迎在下方留言,和大家分享你的想法。
文章来自互联网,只做分享使用。发布者:叮当,转转请注明出处:https://www.dingdanghao.com/article/628988.html
